2022河北高考分数线最新
高考只是人生极短的一个片段,但它是一个重要片段。不可否认,对于一些社会底层而言,高考是他们改变命运最重要的一次机会。下面就是小编整理的2022河北高考分数线最新_2022河北高考分数线公布,希望大家喜欢。
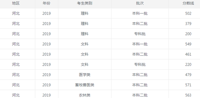
由于2022年河北高考分数线还未公布,同学们可以对照一下往年高考分数,以供参考!



一、重视基本功的训练
同学们除了掌握课本上的知识以外,你最好买一本《语文知识手册》,要系统地看一看,不懂的地方可以查字、词典,养成自学的习惯。你要学会读书、喜欢读书,对于课本的文章要熟读,还要善于读课外的书,做到日积月累。很多同学一写作文就头疼,主要是积累不够,肚中无货,难以下笔。所以,只要广泛阅读,大量积累,你就自然下笔如有神了。
二、弄清文章体裁
作文的体裁很多,有记叙文、议论文,还有缩写、扩写,细分的话就更多了,有散文、报告文学、消息、通讯,还有诗歌、歌赋等等。但总体来说,也就两大类:一是记叙文,二是议论文。同学们要着重掌握两种题材的写作方法。议论文的写作,首先要写出论点,做到旗帜鲜明,一般论点多出现在文章的开头部分。其次写好论据,论据其实就是说理,说理时要有例子,做到说理透彻、清楚明白。还有一个就是论证,论证就是证明文章的观点是正确的还是错误的。
三、语言要美
记叙文是用记事的,所以要用带一定色彩的,描写的句子将人物、事件、地点、前因后果表现出来。要善于运用你所学过的修辞手法,多背一些诗词或经典名句。议论文要用论述的语句,因为它是讲道理的,你千万不要把记叙文当议论文来写,或者把议论文当记叙文来写。
四、多写日记,练好硬笔字
经常写日记,无疑是提高作文水平的一个重要途径,练好硬笔字会给人以美的感受,也会为你的形象增光添彩。所以你要把平时看到的、想到的写出来,养成记日记的习惯。殊不知书写潦草、字体难看、卷面不洁净的文章常常使评卷老师心生厌恶,其结果可想而知。所以同学们在平时要注意把字写好,可按字帖来写,也可注意向写好字的同学,老师学习,把字写好。
