2022安徽高考分数线文理科
推荐文章
2022年安徽高考录取分数线可以查看啦!安徽濒江近海,有八百里的沿江城市群和皖江经济带,内拥长江水道,外承沿海地区经济辐射。下面是小编给大家带来的2022安徽高考分数线文理科,希望能帮助到大家!

2022年安徽高考录取分数线

2021年安徽高考录取分数线

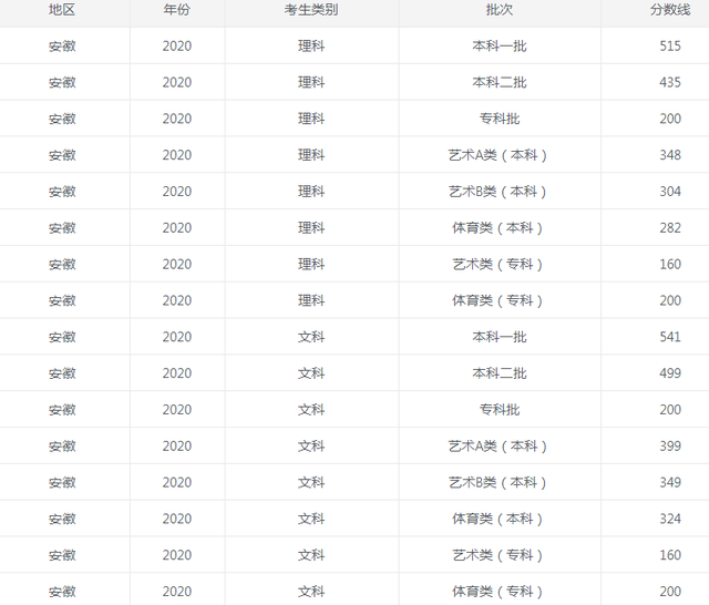
2020年安徽高考录取分数线

高考志愿填报技巧
第一、选择什么样的大学?
高考的主要目的就是要进入大学,而进入什么样的大学,由考生自己来决定。
或许很多家长和考生会问,这个不是根据分数来定吗,分数出来了,够得上什么大学,就去什么大学,有什么可选的,我想选择清华,就能去吗?
事实上,在分数固定的情况下,可供选择的学校也不止一所,这就需要考生和家长进行横向对比,再做选择。
1、可以优先选择综合性大学。
综合性的大学平台大,能够给你提供的资源多。同时,如果考生读了不那么理想的专业,之后想转专业或者读第二学位,选择空间也会更大。
2、可以选择离家远一些的大学。
选大学的重要要素之一就是距离上的远近。专家建议,要选离家远一点的地方。
离家远一点的地方,尽管远离父母的怀抱,但能培养自己的独立生活技能和品格,还能感受不一样的文化氛围,交到更多的新朋友,拓展自己的眼界,为大学生活增添色彩。
第二、选择什么地区?
如果考生一直都有向往的城市,直接选择就好了,但如果还没有明确的目标,就要好好考虑了。
一般来说,考生可以将大城市作为首选。
大城市经济体量大,优秀的教育资源多,各种公共设施、资源完备,有更多的学习进步空间。
所以,可以优先选择北上广深,然后是其他的一线城市和经济发达的省会城市,比如南京、杭州、武汉、成都、西安等。
但在中西部地区,根据你的专业选自己喜欢的地区,也有好的地区。
例如甘肃,虽地处西北地区,但文化氛围却很浓厚。如果恰好考生喜欢研究中国历史的话,在甘肃这样的地方上学是很不错的。
综上所述,地区也是一个重要因素,考生要谨慎选择。
第三、选择什么专业?
除了选大学,学什么专业也非常重要。
在高考报考的时候,很多考生会根据对高中科目的兴趣情况选择自己的大学专业,比如喜欢语文,就觉得自己对文学专业一定感兴趣;不喜欢物理,就认为一定要排除所有物理相关理工科专业。
这是不科学的填报方法。高中更多的是普及教育,而大学的课程更加具有专业性。如果仅仅根据自己对高中科目的理解,来决定自己未来的专业,是远远不够的。
选择专业的标准首先要基于考生自己是否真的喜欢,是否是真心想学。如果考生对数学极其感兴趣,那就选数学系,不要因为觉得学数学毕业出来不好找工作所以就不选数学了。
选自己喜欢的才能学好,才能深入地学习,这个非常重要。
当然,这里要提醒考生,除了选择自己真心喜欢的专业,还要注意一点就是要避免急功近利的倾向,例如很多考生都会选法律、经济、金融、会计、计算机等专业,是因为在大家的观念里,这些专业毕业以后更加“好就业”。
如果仅仅为了一份稳定的工作和不错的待遇,就花上四年的时间学习不喜欢的专业,毕业后去做一份并不喜欢但是很稳定的工作,这对一个人本身也是很痛苦的事。
更何况,能够在一个专业领域有较大突破的人,基本都是发自内心喜欢这个专业的。
2022填报高考志愿的窍门
1、了解招生录取政策
考生填报志愿前,要认真审阅所在省招委员会制定的《2022年普通高校招生工作通知》,艺术生特长生、普通生需要了解自己的志愿批次、志愿填报以及投档原则等。尤其是录取规则,需要详细了解。
2、查阅招生专业目录
考生要根据自己的模拟高考成绩,排位情况,查阅省招生办公室编写的《招生专业目录》以及《志愿填报指南》,选择适合自己的高校和专业进行填报。
3、身体体检
有身体体检要求的高校和专业,考生要对自己的体检情况详细了解,尤其是关于省招办下发的相关身体体检指导意见,要确认自己是否符合条件。
2022平行志愿填报技巧
1、要有梯度,一般采用冲一冲、稳一稳、保一保策略。
2、第一个志愿可以根据全省排名和某大学历年录取学生的省排名,选取冲一冲的院校。
3、三志愿填写和自己排名差不多的院校,其余志愿填有把握录取的院校。
4、控制梯度,每年都有不少学生考取500多分却被450分左右投档线的大学录取。
2022安徽高考分数线文理科相关文章:
