江苏2022年高考分数线排名
推荐文章
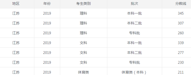
江苏2022年高考分数线排名公布
江苏的高考分数线终于在今天公布了,江苏的高考生终于到了过最后一关的时候了,下面是小编为大家收集的关于江苏2022年高考分数线排名_2022江苏高考录取分数线。希望可以帮助大家。




文理科录取分本科提前批、高职(专科)提前批、本科第一批、本科第二批、高职(专科)批,共5个批次。
除军事、公安、飞行学员、公费师范生、农村订单定向医学生、部分艺术体育专业、航海类等艰苦专业、全国重点马克思主义学院的马克思主义理论专业以及其他经教育部批准的特殊高校(专业)、有关高校综合评价招生等教育部规定可安排在提前批次录取的情况外,其余高校和专业一律不得安排在提前批次录取。
(1)本科志愿
本科提前批分为军事、公安司法和应急消防(含公安司法国家专项计划)、公费师范、免费医学定向(招生政策另文公布)和其他(其中“定向培养乡村教师”招生政策另文公布)共5类。
军事、公费师范和免费医学定向类实行平行志愿,设置A、B、C、D、E、F六所院校平行志愿及院校服从志愿(免费医学定向不设院校服从和专业服从志愿),每所院校设6个专业志愿及专业服从志愿。
该批次公安司法和应急消防(含公安司法国家专项计划)、其他类设1个院校志愿,每所院校设6个专业及专业服从志愿。
考生的本科提前批次志愿只可在上述5类中选报一类。
本科提前批后还单设若干特殊类型招生录取批次,依次分别为国家专项计划、地方专项计划、高校专项计划。
本科第一批平行志愿包含A、B、C、D、E、F六所院校;本科第二批平行志愿包含A、B、C、D、E、F、G、H、I、J十所院校。本科第一、二批的每所院校设6个专业志愿及专业服从志愿。
(2)高职(专科)志愿
高职(专科)提前批分为定向培养士官、免费医学定向、公安司法和其他共4类,定向培养士官、免费医学定向实行平行志愿,设置A、B、C、D、E、F六所院校,每所院校设6个专业志愿(定向培养士官设专业服从,免费医学定向不设专业服从);公安司法和其他类设1个院校志愿,6个专业及专业服从志愿。考生的高职提前批次志愿只可选报一类。
高职(专科)批平行志愿包含A、B、C、D、E、F六所院校,每所院校设6个专业志愿及专业服从志愿。
(3)征集志愿
各批次平行志愿录取结束后,对未完成的计划及院校追加的计划,面向批次线上未录取考生征集志愿;同时,批次线下20分以内的考生也可以据此计划填报降分征集志愿,作为批次线上未完成招生计划院校降分投档的备档。征集志愿和降分征集志愿均包含A、B、C、D、E、F、G、H八所院校志愿(其中高职批设院校服从志愿),每所院校设6个专业志愿及专业服从志愿。
填报军校、公安司法和应急消防(含公安司法国家专项计划)征集志愿的考生,须在军校、公安司法和应急消防体检、面试、政审等合格名单内。
征集志愿录取结束后,仍未完成计划的院校及专业按考生填报的降分征集志愿进行逐分降分投档。
在高考志愿填报的时候很多家长和考生都很迷茫,不知道是选择专业重要还是选择学校重要。从学校的方面来说,好大学对于不同水平的成绩有不同的理解,可以是985高校、211高校,双一流高校以及双一流学科建设高校,也可以是普通一本高校,每个人对好大学的理解都是不同的;从专业方面来说,填报的时候是不是考生和家长喜欢的专业录取,或者是被一个就业前景好的专业录取。
不管是选择大学还是选择专业,小编都推荐你使用《蝶变志愿(填报模拟志愿)》进行填报,蝶变志愿不仅可以根据考生自己喜欢的专业进行填报,还可以将考生和家长心仪的大学添加进备选库,在填报时直接从备选库内添加,节约时间。
蝶变志愿是一款致力于为高三学子提供高考志愿服务的产品。有着多年线上线下服务经验,服务人群覆盖全国31个省份,成功案例300万+,录取率高达99.2%以上,是学生和家长的不二选择。
