2022江苏高考分数线出炉
分数决定了你能上哪个批次的大学。分数,分数,还是分数。这个时候分数就是王道了,多一分就是比少一分机会更大。2022江苏高考分数线如何?下面就是小编整理的2022江苏高考分数线出炉_2022江苏高考录取分数线揭晓,希望大家喜欢。
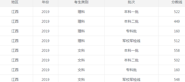
由于2022年江苏高考分数线还未公布,同学们可以对照一下往年高考分数,以供参考!



(一)录取批次
录取批次共设3批,其中本科2批,专科1批。高校录取工作分批次依次进行。
1.本科提前批次。包括军事院校等部分普通类本科院校(专业),体育类本科院校,艺术类本科院校。强基计划、综合评价(A类院校)等类型的录取,安排在本科提前批次之前进行。
2.本科批次。其中,高校专项、综合评价(B类院校)、高水平艺术团、高水平运动队等特殊类型招生的录取安排在本科提前批次之后本科批次开始之前进行。
3.专科批次。其中,体育类、艺术类、定向培养士官等在普通类批量投档前完成录取。
(二)志愿设置
1.普通类各批次实行平行志愿方式。其中,本科提前批次设置20个院校专业组志愿,本科批次和专科批次分别设置40个院校专业组志愿。每个院校专业组志愿设置6个专业志愿和1个专业服从调剂志愿。
高校专项、综合评价(B类院校)、高水平艺术团、高水平运动队等特殊类型志愿实行传统(顺序)志愿方式,设置1个院校专业组志愿,包括6个专业志愿和1个专业服从调剂志愿。
2.体育类各批次实行平行志愿方式,设置20个院校专业组志愿,每个院校专业组志愿设置4个专业志愿和1个专业服从调剂志愿。
3.艺术类设置传统(顺序)志愿、平行志愿两种方式。录取批次设置为本科提前批次和专科两大批次。
(1)本科提前批次
艺术类本科提前批次下设3小批,具体情况如下:
第1小批:经教育部批准的部分独立设置的本科艺术院校(含部分艺术类本科专业参照执行的少数高校)和原“211工程”院校校考的艺术类本科专业、中央部门所属高校的非美术类校考的艺术类本科专业,实行传统(顺序)志愿设置。
第2小批:使用省统考成绩录取的省内外高校的艺术类本科专业,实行平行志愿设置。
第3小批:除第1小批以外的其他院校校考的艺术类本科专业,实行传统(顺序)志愿设置。
(2)专科批次
使用省统考成绩录取的专业,实行平行志愿设置;使用校考成绩录取的专业,实行传统(顺序)志愿设置。考生只能在使用省统考成绩录取或使用校考成绩录取的院校专业中选择其一填报。平行志愿设置20个院校专业组志愿,每个院校专业组志愿设置4个专业志愿和1个专业服从调剂志愿。传统(顺序)志愿设置1个院校专业组志愿,包括4个专业志愿和1个专业服从调剂志愿。
4.各批次志愿录取结束后,设置征求志愿,征求志愿设置与相应批次志愿设置一致。
(三)志愿填报
志愿填报采用“院校专业组+专业(类)”模式。院校专业组由院校根据不同专业(或专业类)的人才培养需要和选考科目要求设置,是志愿填报的基本单位。考生的学业水平选择性考试科目须符合报考院校专业组的选考科目要求,方可填报相关志愿。
1.平行志愿[含艺术类传统(顺序)志愿]。考生在获知高考成绩、学业水平考试成绩、位次信息、各批次省录取控制分数线后,在省教育考试院门户网站或专设网站(gkzy.jseea.cn),分两个阶段网上填报志愿:
第一阶段:填报本科院校专业组志愿,其中,6月27日至28日预填报,6月29日至7月2日正式填报。包括普通类本科提前批次志愿,含军事、公安政法、航海、地方专项计划、乡村教师计划、其他院校等;体育类或艺术类本科提前批次志愿;普通类本科批次志愿。
第二阶段:填报专科批次院校专业组志愿,其中,7月25日至26日预填报,7月27日至28日正式填报。凡未被第一阶段各批次高校录取的考生均可填报,包括普通类、体育类、艺术类专科批次志愿。
2.征求志愿。在各批次平行志愿[含艺术类传统(顺序)志愿]录取结束后,省教育考试院将及时公布未完成招生计划的院校专业组、专业(类)及计划数。未被录取的考生在规定时间内自行上网填报征求志愿。
考生应认真阅读有关高校招生章程以及我省公布的招生规定、招生计划,按有关规定和要求填报院校专业组和专业(类)志愿,并对所填报志愿的真实性和准确性负责。因考生本人疏漏或失误造成的后果,由考生本人承担。
(四)体育类、艺术类考生可兼报普通类本科批次和专科批次志愿。
(五)考生填报志愿时,应根据报考科类、院校专业组及专业(类)对考生的学业水平考试科目要求和成绩要求,以及考生本人的体检结论等情况,慎重选择,准确填报。
(六)考生必须在规定的时间内凭考籍号、身份证号、密码和动态口令卡网上填报平行志愿[含艺术类传统(顺序)志愿]和征求志愿,并对自己所填报信息的准确性和安全性负责,不需要现场签字确认志愿信息。填报志愿截止时间前,考生可上网修改自己的志愿信息。填报志愿时间截止后,任何人不得擅自更改考生志愿信息。
(七)各设区市、县(市、区)教育行政部门、招办、中学及有关单位要结合本意见的有关规定,认真做好考生填报志愿的宣传、组织和指导工作。
(八)强基计划、高校专项计划、综合评价、高水平艺术团、高水平运动队等特殊类型招生的志愿填报,按教育部及我省相关文件执行。其中,高校专项计划、综合评价、高水平艺术团、高水平运动队4类志愿之间不得兼报;符合多项入选资格的,只能选择其一填报。
(九)报考少年班、残疾单招、体育单招等考生,因有特殊要求或其中学阶段学习经历与普通高中学生不同,由招生高校自主确定成绩要求、自主确定志愿填报方式。
