2022陕西高考分数线公布最新
推荐文章
随着2022年高考的结束,许多省份都陆续公布了高考成绩查询时间。你期待陕西高考分数线的揭晓吗?下面就是小编整理的2022陕西高考分数线公布最新_2022陕西高考录取分数线出炉,希望大家喜欢。
陕西2022年高考分数线

陕西2021年高考分数线
文史类:本科一批499分,本科二批406分
理工类:本科一批443分,本科二批341分
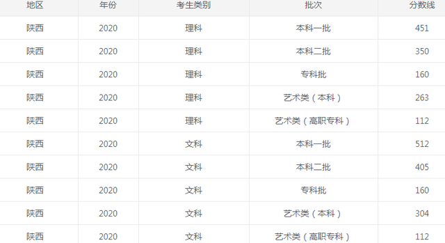
陕西2020年高考分数线
陕西2019年高考分数线

高考冲刺文科学习方法
1、文科生提高成绩首先得有决心
高三文科文科的知识需要大量的记忆,所以想提高成绩的话,必须得有足够的决心。尤其是文科中的文综,需要下功夫去背。相信只要你的决心够大,付出的努力够多,学习成绩一定会有所提高。
2、注意学习方法
除了学习的决心以外,高三的文科生还得有正确、高效的学习方法。因为高三复习的时间比较紧迫,而学习任务又非常重,所以文科生在学习的时候,一定要注意学习效率,不要学一整天还没有别人一节课掌握的多。
至于正确的学习方法,也就是把需要记忆的知识安排在记忆力最好的时间段,需要理解、动脑的的知识放在一天中思维最为活跃的时间段,到了晚上的时候,最好是归纳总结一下白天所学的知识,或者是看一些热点新闻、时事素材,毕竟文科考试对于社会热点、国内外重大新闻考察的比较多。
3、利用好每一次考试
考试对于学生来讲,就是检查学生对于所学知识点额掌握情况,而对于高三的文科生来说,更重要的则是通过来锻炼自己各方面的能力。所以高三文科生要抓住每一次考试的机会,对自己进行锻炼、提升。并且总结考试中出现的问题,加以改正。
还有一点就是考试的时候要注意各科考试时间的分配,尤其是文综。做到高效答题,也就是做过的题都得分。
4、良好的心态
高三生活可能比较艰苦,主要是学生学习压力大。而文科的知识有需要大量的记忆,所以学习的过程会比较枯燥。因此高三文科生一定要有耐心,有一个良好的心态,静下心来做事才能正大做事的效率。
高考填报志愿如何选专业
1、基于个人的兴趣,比如这个考生真的很喜欢游戏,就学了和游戏有关的专业,这种人有,但的确不多。很多人说选专业家长应该放手,让孩子遵从自己的兴趣。但说实话,真正能在高考时就明确知道自己对什么有兴趣,自己的兴趣意味着什么,有什么未来的人,属于极个别。对于这部分已经有明确“兴趣点”的考生,顺其自然即可。
2、自己高中哪门课好,大学就接着学。这种情况既见于一些竞赛保送生,也见于一些普通的高考生,比如语文好,就上中文系,英语好,就学外语等等。但这种考生的志愿填报,实际上也是相当无意识的,有不少人是要后悔的,而且文科生高考就六门,数学和地理两个系还不能报,理科生高考六门,中文系一般还报不了。这样选专业,空间也很窄。
3、基于就业。绝大多数高中生其实对专业是懵懵懂懂的,为什么有那么多高考状元都要去北大光华、清华经管,就是觉得金融就业好,挣钱多,这些人到底对于金融业有多少了解,他们的父母对金融业有多少了解,其实搞不清楚。
2022陕西高考分数线公布最新相关文章:

