2022高考分数线安徽省最新(公布)
推荐文章
说到高考,它的重要性自然不言而喻,高考是对高中三年学习知识的检验,最重要的是高考成绩如何将会直接决定学生未来进入什么样的大学,未来步入社会后走什么样的路。以下是小编为大家带来的2022年高考分数线安徽省最新(公布),希望您能喜欢!

2022年高考分数线安徽省最新(公布)
鉴于2022年安徽高考分数线尚未公布,同学们可查阅往年的高考分数线,进行一定的借鉴及分析哟!
2021年安徽高考分数线

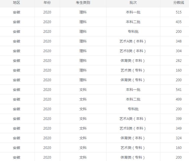
2020年安徽高考分数线

填报高考志愿有什么技巧
填报志愿的过程中,如果能正确把握填报志愿的梯度,就能增加被录取的几率。因此,考生要处理好第一志愿和非第一志愿的梯度,以及平行志愿之间的梯度要正确处理第一志愿和非第一志愿的梯度。高考填报志愿各批次的第一志愿很重要,特别是一些院校第一志愿满额率高。但这并不能说明二、三志愿就不再重要。
在每年的录取中,总有一部分院校第一志愿生源不足,要录取第二志愿,甚至通过调剂、降分才能完成招生计划。因此,不能因为第一志愿满额率高就忽视第、三志愿填报。在各志愿填报时,一定要注意拉开梯度,慎重填报第二、三志愿。如有的本科一批院校,为了提高生源的质量,通过政策规定和志愿分数级差等形式,每年都在第二、三志愿中择优录取部分高分考生。
要冷静、理智。考前报志愿的考生不知道自己能考出什么水平,复习正处于冲剌阶段,压力很大,往往不能冷静对待填报志愿。
考后估分报志愿的考生担心估分不准,或者因为考得不好影响心态。分数公布以后再报志愿的,有些考生发挥不理想,不能面对现实,情绪低落。
无论属于哪种情况,我都要一再强调,填报志愿时一定要冷静、理智地进行分析,不能让一时的情绪变化左右填报志愿的倾向。
不要盲从。填报志愿时同学间会相互讨论、相互商量,这是非常好的事情,但是也难免相互模仿、相互感染。
一个同学报某个学校某个专业,其他水平相当或分数相近的同学也想报这个学校这个专业,容易造成扎堆。各人的实力不一样,爱好兴趣不一样,不能相互模仿,相互模仿造成的扎堆现象对高考录取是很不利的。
选择大学的时候,不仅要结合你分数,还要看往年的录取线,其次是要看专业的受欢迎度,太热门的专业它的录取分数线是很高的,尤其是一所知名度很高的学校,一定要选择自己喜欢的学校和专业。
高考期间的注意事项是什么
1、饮食一定要注意
很多家长为了孩子在高考期间能够发挥出好的成绩,刻意给孩子每天吃大鱼大肉,这样的方式是严重不可取的。高考期间的饮食一定要以清淡为主,保持和平时一样的饮食习惯即可,不要为了补充营养而刻意多吃,如果高考期间拉肚子了,后果会很严重。
虽然高考期间饮食不要多吃,但也不能走极端而故意少吃,饭吃不饱身体就无法将大量的血液运输进大脑,这样同样会影响考生在高考期间的状态。
2、心态最影响发挥
其实高考期间最影响发挥的便是考试心态,很多考生心态不好,紧张其实是因为害怕自己高考时发挥不好,从而给了自己过多的压力,压力越大反而越影响发挥。
在考试的时候,只需要将高考当作平时普通考试去对待即可,很多考生在高考期间往往因为过度紧张而导致发挥不佳。
高考也不是只有一门单独的考试,它是很多科目的综合考试,一门科目没有发挥好并不代表着后面的科目也会有不佳的发挥,只要能够把握住后面的考试,一样可以考出让考生自己满意的成绩。
