2022黑龙江高考分数线最新
高考考试之后,考生将进入到查询分数和志愿填报的关键环节。各地在公布高考分数时间上也有所不同。下面就是小编整理的2022黑龙江高考分数线最新公布,希望大家喜欢。
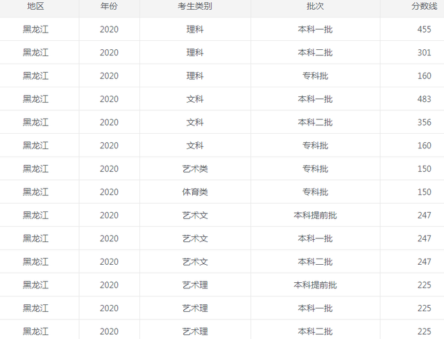
由于2022年黑龙江高考分数线还未公布,同学们可以对照一下往年高考分数,以供参考!



让一些学科先“富”起来
在最有效的学习时间里,部分学生长期遗留的问题没有得到很好解决,在此时已显得无法操控,力不从心。进步的空间小,制约着整个分数线的不突出。学生往往抓不住重点,分不清主次,在矛盾中过日字,最后一无所获。学生要做狠抓部分学科的成绩,这里的部分学科包含两个方面:一是自己能够稳住的,自己经过评估后具有很大优势的;二是学生感兴趣的,即使是增加试题难度依然能够坚持完成的。要突出优势,突出成绩。一般讲学生的成绩不能考好往往都是因为差科的存在。毫无疑问,对优势科目的重视并不是以牺牲其它科目为代价的,相反,重点应该放在死抓基础上。全力抓好基础知识的稳固。
相信相同的树叶不存在
学生对自己做过的题和正在完成的题都应该有一个好的思考和总结。尤其是对做过的题特别是做错的题要进行及时归纳和记录。手动才是思维的开始。理科生尤其重视做题思路和方法的积累与整合。对大部分的基础题要“死做”、“死记”“死背”。做到“一百套化十道,十道延一百套”。
学会“吃葡萄”
吃葡萄有两种典型的品位方法。一是先吃最甜的,最后吃最苦的;二是先吃最苦的,最后吃最甜的。用在我们的学习中,道理一样。在平时的学习中,学生对于学习就应该始终抱着“先苦后甜”的态度对待自己的学习。不怕吃苦,不怕难题,敢于正视,并积极解决。在不断的探索和总结中找到每一次不同的收获。对下一个葡萄始终怀有期待和希望。相信最后是自己最需要得到的。只是葡萄不能多吃,要看清大小,循序渐进,每吃一个都要品其味,识其真。吃出感觉,吃出信心。在考试中我们就因该懂得“先甜后苦”的道理。把自己认为容易的,感觉有很大把握的先做。先把最甜的吃下再说,最后,做到能够吃的一定要吃好,少量不能吃的可以放心放下。这样才能顾全大局,减少损失。
分清一二三
粗心是学生考试当中遇到的常见问题。很大一部分学生往往在最容易的一环出错从而与高分无缘。数不清一二三,糊涂一时,悔恨绵绵。要求学生在平时的学习中养成良好的学习习惯是必不可少的。尤其做到细心不马虎,大意但不失大局。除了考试,对学生考试纪律的培训也是必不可少的。平时考试一般在细节上显的随意,直接造成在考试中因为习惯而犯错,比如不关手机,考试结束之后把试卷带走等等。
高三学生的学习方法指导就像秋后飘落的叶子一样,需要懂得它价值的真正所在。善于发现各个时期学生存在的问题,始终以积极向上的精神和学生走在一起。解其惑,告之真。
