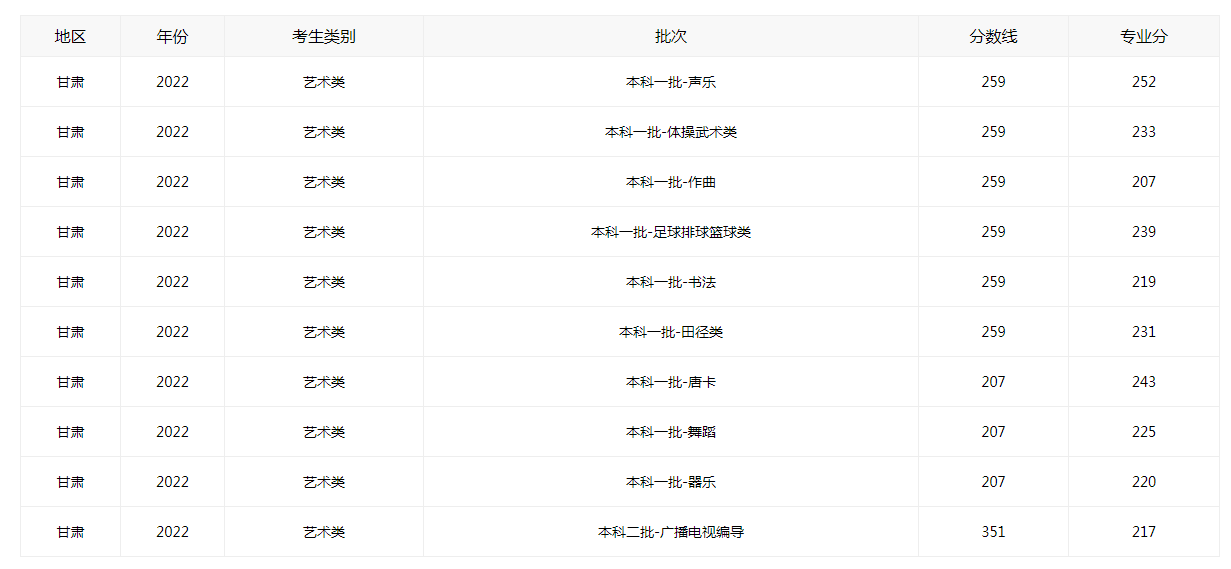
2022年甘肃高考录取分数线最新出炉
推荐文章
高考分数线是在高考结束之后公布的,各地区在不同时间段公布高考分数线,那么你知道甘肃今年的高考分数线吗?以下是小编整理的2022年甘肃高考录取分数线最新出炉,希望可以提供给大家进行参考和借鉴。
2022年甘肃高考录取分数线最新出炉





2021年甘肃高考录取分数线

什么是录取分数线、提档线、投档线
录取分数线
录取分数线也叫省控线、批次线。是指省级招生部门根据当地全体考生当年高考成绩水平和国家下达的招生生源计划,相应确定的一个录取新生的最低成绩(总分)标准。只有高考总分(艺术、体育考生含专业成绩)达到或超过这一分数线的考生(通常称“上线考生”)档案,才有资格被招生高校调阅并选择录取。
最低录取控制分数线一般是分专业类、分批次确定的。专业类一般分为文史、理工,以及音乐(文、理)、美术(文、理)、体育(文、理)以及新高考地区的综合类和物理类、历史类等等,每一专业类又各分为本科提前批、本科一批、本科二批等等。文史、理工各批次的最低录取控制分数线只对文化总分作出规定,音乐、美术、体育专业的最低录取控制分数线则同时针对文化与专业两方面的总分作出规定。
提档分数线
在同批录取的院校中,由于第一志愿报考人数不均衡,按照各院校招生计划、调档比例和考生成绩,各校的最低提档分数并不一样,这就自然地形成了院校的提档分数线。他们的共同特点一般是在同批录取控制分数线以上,而其不同特点是部分院校由于生源充足,其提档分数线高于同批控制分数线,有的院校由于生源不足,提档分数线就只好定到同批录取控制分数线,还有部分院校(专业)提档分数线低于同批录取控制分数线。因此,有的考生高考成绩虽然上了同批录取控制分数线,但由于未达到所报院校的提档分数线,电子档案不能投放,因而参加不了该校的录取,但也有部分学校由于生源不足,而低于某批控制分数线却被录取,就是由于降分的缘故。
调档分数线
投档线只是高校将你的档案提走的最低分数线。一般按120%提档,是为了避免因各种情况录不满留出的选择的余地。而录取分数线是正式被该校录取的最后一名的分数,所以过提档线并不一定被录取,只是很有可能而已。一般录取分数线会高于投档线,如果你的高考分数正好和某校的投档线一样,这并不意味着你一定能被该校录取。二者没有必然的联系,但是高多少分的话还是要看学校的录取人数和分数来定的,这个是没什么规律的。
院校调档线是各高校录取考生时对某地报考该校的考生在文化成绩方面的最低要求。院校调档线是在该批院校最低录取控制分数线的基础上,根据当年考生报考本校志愿情况、分数情况和本校在该地招生计划数确定的,每年都会不同。
高考投档分数线
院校投档分数线是指以院校为单位,按招生院校同一科类(如文科或理科)招生计划数的一定比例(1:1.2以内),在对第一志愿投档过程中自然形成的院校调档最低成绩标准。每一所院校都有自己的投档分数线,简称投档线也称调档线或提档线。
各地招办在投档过程中,将填报了该校志愿且成绩在批次线上的考生档案,按招投总分(含政策照顾分,下同)从高分到低分排序,按院校招生计划的一定比例进行投档,而投档高校的最低一位考生的成绩,就是该校的调档线。通常情况下,调档线往往高于录控线;第一志愿生源不足的院校,其调档线等于录控线。考生的档案能不能投给学校,最关键取决于招投总分是否达到了调档线。
什么是专业(类)+院校
专业(类)+院校也是新高考的一种填报模式,它没有服从调剂选项,跟院校专业组比起来,没有了调剂的风险。以下是专业(类)+院校的志愿表,可以看到它是以专业为单位填报的,这种填报方式可以让考生自由组合。
考生可以选择同一院校的不同专业,可以选择不同院校同一专业,也可以选择不同院校不同专业。以辽宁为例,本科批实行平行志愿投档,考生可以填报112个志愿。
虽然选择丰富,但要格外注意专业的特殊要求,如有的语言类专业要求考生的外语口语成绩,有的工科类专业对色盲色弱有严格限制,有的专业要求学生身高达标。如果考生没能满足这些专业的特殊要求,即使分数达标,也会出现退档、滑档的情况。所以在报考时,一定要仔细阅读院校的招生章程,细节问题要和招办老师电话确认,了解清楚再做决定。
2022年甘肃高考录取分数线最新出炉相关文章:
