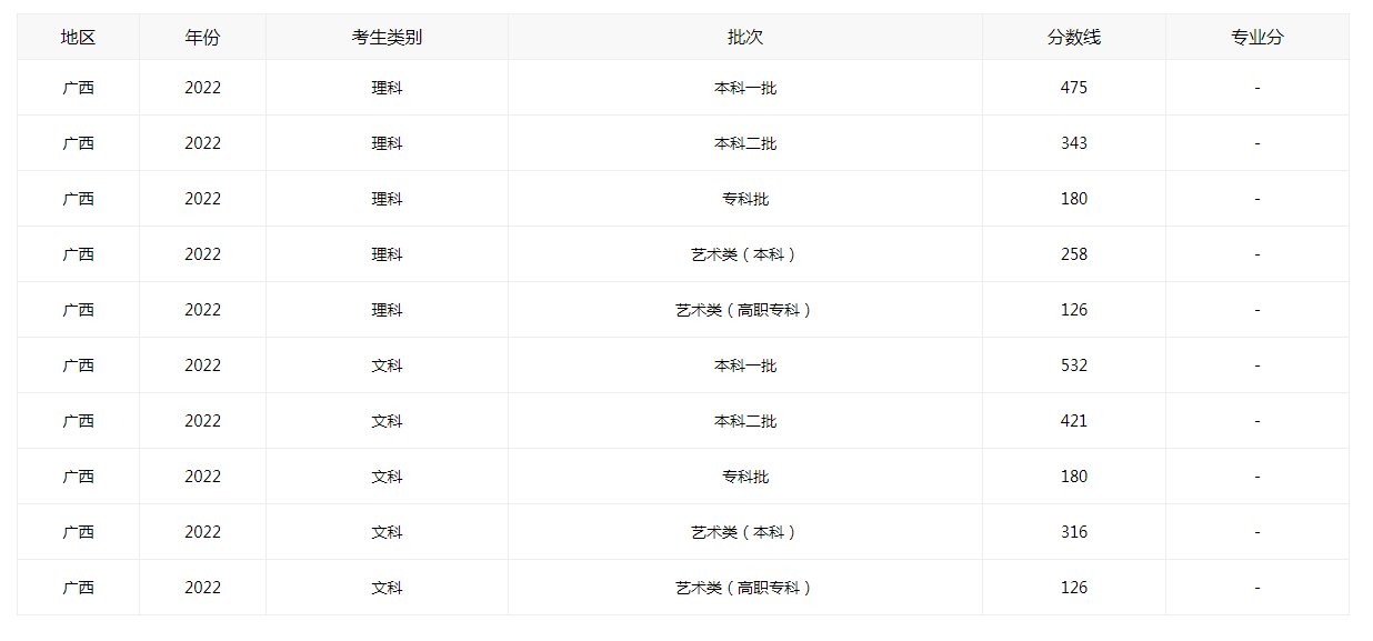
2022年广西高考录取分数线最新公布
推荐文章
高考结束之后会公布高考分数线,考生们最想知道的是高考录取分数线了,那么你知道今年的高考分数线吗?以下是小编整理的2022年广西高考录取分数线最新公布,希望可以提供给大家进行参考和借鉴。
2022年广西高考录取分数线最新公布


2021年广西高考录取分数线

正确评估自己的考分
考生高考时,感觉一般会比模拟考试时的状态要好,因此在估分时可适当地加分,但不能过多地加分或减分,因为感觉毕竟是感觉。同时,在估分时还要注意一些学科的估分要点:
1.语文。各门学科中最难估分的要数语文。虽然客观题部分比较容易估分,但其后的几类题由于弹性比较大,考生就应该特别注意。例如现代文阅读部分,如果与标准答案不一致,则要看与标准答案是相近还是相悖,如果相近,还要严格比较两者,看角度是否一致。作文评分是按基础等级与发展等级两个分数进行评判的,一个基础等级50分,发展等级是10分,在发展等级里有一项突出的,都可以加1—10分。基础等级的估分要从主题、结构到语言逐项衡量。在第二部分评分中,如果作文跑题,不可能拿到发展等级的分。但是现在高考的作文在写作表达方式上,文体限制不大,可以写记叙经历,编些故事,也可以发表议论,展开联想,这样的要求再跑题恐怕是很难了。所以在估分的时候不要过分悲观。
2.数学、物理。数学一般就是按步骤给分,没有太多的灵活性。在估数学分时,重点在大题的估分上,要按步骤算分,解题的方法可能不一样,但是在步骤上相当的位置会给同样的分。
物理的步骤分也是很重要的,但是不一定是非得要和标准答案相同。只要叙述得很清楚,逻辑关系上比较明朗的话,同样会给分。因此,物理答题的步骤、程序往往比答案还要重要。一般情况下:考生估分可能会偏高,因为考生只会对答案,认为答案对了就会得分。而物理阅卷更注重答案是怎样来的,根据是什么。有些考生答案也许错了,可他得的分也许比答案对的考生高,原因之一就是解答过程的完整性。
3.政治。对于政治题的估分,不是答得内容越多越给分,而是要看是否将观点答出来了,才能给分。因此,政治估分应把“踩点”和“踩意”相结合,也就是说不一定完全“死抠”标准答案,只要表达的意思比较接近标准答案,表述清楚、明确就可以适当给自己加分。但这种“踩意”也不是无边无沿,还要以标准答案为纲,要把握好这个度。
4.历史。历史估分容易偏高。考生在估分时应注意以下几点:①在1分的分点下常包括若干句话,一般情况下,只要答上了一个方面的一句话,就能加上这1分了。②答题里面如果出现判断错误,后面的即使答对了,也不要给自己加分。因为判断错了,阅卷者就不再往下看了。③估分要注意抓关键词,虽然你的答案所有的话和标准答案都比较相像,但最关键的那个词没有,也不要加分,因为阅卷时就是找那个关键词。
5.英语。英语最好按照自己平时的情况估分,因为英语考题客观题比重大,估分相对容易,比较难估的只是作文。在对作文进行估分时,最好按照自己平时的情况估分。
学生第一遍估分可以把自己认为“可得可不得”的分数全部算在得分之列;第二遍再按此方法细估一遍,找一个平均值;第三遍是把这部分分数全部排除在外;第四遍按此方法细估;第五遍是用最高得分加上最低得分,然后得平均分;第六遍是用细估的最高分加上最低分得平均分,最后再平均。一般情况下,学生估分高低与学生本人的性格有很大的关系,因此家长、老师也应结合学生具体情况因人而异。
高考估分时应充分考虑以下三种情况:
第一种情况,估分之前要吃透标准答案,然后回忆自己答题的情况如何。题目不仅要答对,还要看答得是否完整。因为少一个步骤或少一个论点,都会被扣分;第二种情况,对于结果错了的答题不能全盘否定,有些时候中间的某些步骤是对的,也可能会得分。但是,这种情况下,分数要往低处估。如果解答的方法和标准答案不一致,最好请老师来把关。第三种情况,考生要检验自己是否运用了一些未经推导的公式。也就是说,只有课本上黑体字的公式和定理才能直接引用,否则也会被扣分。另外,那些平时粗心大意的考生还要注意,考试时不要有漏写、漏答的情况出现,譬如,在做应用题时,为了节约时间,经常不写“答”字。如果在高考中出现这种情况,当然会被扣分。
分析自己可以上哪个批次
批次线,决定着考生能够进入什么样的大学进行学习和深造。考生要根据自己的平时学习成绩结合高考考分情况分析,再对比往年公布的省控线,确定自己在哪个批次中,进而合理进行志愿填报的选择和取舍!
批次线(又称省控线),决定着考生能够进入什么样的大学进行学习和深造。批次分数线是确定考生录取资格、执行招生政策的一个重要指标,除政策规定的特殊降分情况外,院校只能录取所在批次分数线上的考生,当考生的高考成绩达到或超过批次分数线(通常称“上线考生”),考生的档案才能被投档到所报考的高校,然后再由高校选择录取。
在全国高等学校招生统一考试中,究竟自己能考多少分,是很难估计得十分准确的,因为变数太多。但如同求解函数的值域一样,推测自己能落入哪条分数线的哪一个区域则是可能的。
各省的分数线每年都不一样,它既受当年招生计划数与报考人数的制约,也受当年试题难度及全省考生考分情况的影响。一般来说,如果中学毕业生人数没有太大变化,而高等学校又扩招的话,本省升学率就会增加,各批分数线就相对下移;如果高考试题让多数考生都感觉偏难,总体得分减少时,分数线也会下移。要估计自己能进入哪一类分数线区只能迂回入手。
