2021北京高考分数线最新
推荐文章
又到了一年高考分数公布的时候了,相信各位考生都非常紧张,知道自己的成绩之后,记得也关注一下高考的分数线。下面是小编给大家带来的2021北京高考分数线公布最新,以供大家参考,我们一起来看看吧!

2021北京高考分数线:

2020北京高考分数线:

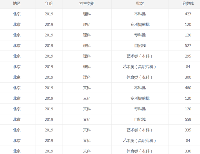
2019北京高考分数线:

做好报志愿的准备
第一步 熟悉政策
考生家长对于本省的高考政策要有一个整体的把握,明白哪些政策非常重要,哪些和自己切身利益密切相关,重要政策当年是否有变化。像常识、动态、公示、政策等等……例如考生家长起码要知道所在省份有几个批次志愿,每个批次需要填报几所志愿学校,可以报考几个专业等等。
第二步 收集信息
信息和渠道的来源至关重要。一般来说,考生家长可以选择的权威渠道大致这么几条:阳光高考信息平台;当地考试院及高校官网、官方微博、微信公众号;高考高招类报纸、广播电视节目等。还可以参考一些与高考相关的博客、论坛、家长圈,相互交流获得专业知识。
第三步 准确定位
定位是填报志愿中最重要的一步。我们都知道,高考录取时是将一定范围的学生,按其填报的志愿和高考成绩进行排位,从高到低,位次越高,被录取的机会就越大。填报志愿前考生可以根据平时成绩或模拟成绩来定位,看看自己在班、学校、区甚至整个省市所处的位置。
第四步 知己知彼
俗话说:“知己知彼,百战不殆”做好了定位“知己”,还要做好“知彼”的工作。“知彼”的过程就是除了政策法规之外,还有弄清各个招生院校的基本情况。如学校当年的招生章程、招生计划、往年在本省的提档线、专业线、师资力量、专业设置、学科特长、就业及深造情况等等。
第五步 初选志愿
“初选志愿”是结合自己的成绩定位,确定目标院校。完成第三、四两步考生和家长对高考志愿应该已有方向了。这时,考生可以大致划定一些在你省有招生计划的院校,并认真阅读招生章程,比较各院校之间专业的招生人数、录取分数等数据,选择和自己兴趣、分数、批次相符合的院校。
第六步 模拟填报
“模拟填报”就是根据本省、市的志愿设置情况,将考生的高考志愿草表完整的呈现出来,做一遍真实的模拟。前高考都是在网上填报志愿,在规定时间内完成,逾期不予补报。每年在志愿填报中出现的操作失误、丢失密码等问题比比皆是,再加上网络系统繁忙难免手忙脚乱,所以提前模拟有备无患。
平行志愿填报技巧
在检索考生志愿前,首先将所有考生分科类按总分从高到低排序。投档检索时,先检索排在第一位考生所填报若干个院校志愿,依志愿顺序确定投档。
考生所填报的若干个院校志愿有逻辑顺序。检索考生所填报的院校志愿时,是按逻辑顺序即A、B、C、D……院校依次进行的。当考生总分符合首先被检索到的A院校投档条件时,且A校有计划余额,该生即被投到A院校。
可以采取“冲一冲”“稳一稳”“保一保”“垫一垫”的策略,各志愿院校之间拉开适当梯度。
2021北京高考分数线最新相关文章:
