2022北京高考分数线出炉
推荐文章
通常所说的院校“录取线”是招生院校在某省(市、区)一个批次录取结束后,按文史、理工类所录取考生中,录取最低分的考生所形成的分数线(特殊情况除外)。下面就是小编整理的2022北京高考分数线出炉_2022北京高考分数线公布,希望大家喜欢。
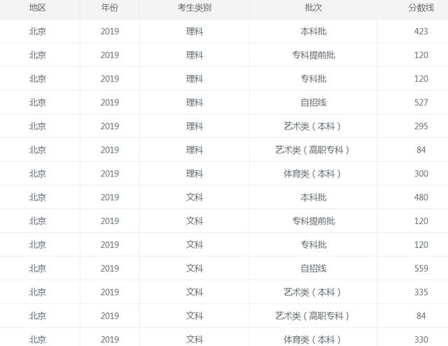
由于2022年北京高考分数线还未公布,同学们可以对照一下往年高考分数,以供参考!



①“院校专业组+专业”
在采用“3+1+2”高考模式的省份中,有广东省、福建省、江苏省、湖南省,以下将以广东省为例来说明。
广东省新高考分为提前、本科、专科(高职)三个批次,提前批次分为本科提前和专科提前两个部分。本、专科批普通类考生均设置有45个平行志愿。普通类分物理、历史两类分开划线,分开投档录取,艺体类考生略有区别。
一所院校可设置一个或多个院校专业组,每个院校专业组内可包含数量不等的专业(类)。同一个专业院校组中的专业对于选科的要求都相同。因此同学们在准备选择专业志愿的时候可以参考以下步骤:
Ⅰ、同学们应该首先找到报考院校的专业选考目录,这里会标明这所学校不同专业组的选科要求;
Ⅱ、其次根据自身的选科情况锁定目标院校的相应专业组;
Ⅲ、然后按照自身兴趣在专业组内选择感兴趣的专业;
Ⅳ、最后了解同一个专业组内的其他专业,因为这会涉及到调剂问题。
与往年相比,主要变化为:(1)由投档单位由院校变为投档到院校专业组。(2)考生学考选择考对应的合格考科目成绩合格。(3)调剂是只能在所选专业的同一个院校专业组中进行调剂
②“专业类+学校”
采用这种志愿填报模式的省份地区有河北省、辽宁省、重庆市。以下将以辽宁省为例说明。
在辽宁2021年高考志愿填报中,与往年的差异主要有两点,一是平行志愿批次志愿填报基本单位由“学校+专业”改为“专业+学校”。二是高校专业有选科要求。例如某医科大学的“临床医学”专业,首选科目要求为“物理”,再选科目包含“化学”或“生物”的考生才有资格报考。
不管是普通类,还是艺体类考生均分为历史类、物理类。不同的批次设置有不同数量的专业志愿。
新的志愿模式是以“专业+学校”为单位,学生可以根据自己的兴趣特长,先确定自己喜欢的专业,然后再选择学校。
新的志愿模式下1个“专业+学校”就是1个志愿,要报考北京大学的数学、物理、化学3个专业,则需要填报北京大学+数学、北京大学+物理、北京大学+化学3个志愿单位,还需要关注每个专业的选科要求,明确自己是否符合条件。
不过有些专业除了选科要求之外,还会对身体条件、语种等另做要求,考生即便被投档,高校也可能因考生不符合招生章程中的规定而退档。
