北京2022高考分数线与录取线
推荐文章
北京的高考分数线终于公布了,相信北京的高考生已经开始迫不及待的查询了,下面是小编为大家收集的关于北京2021高考分数线与录取线_2021北京高考录取分数线。希望可以帮助大家。
北京2021年高考分数线

北京2020年高考分数线

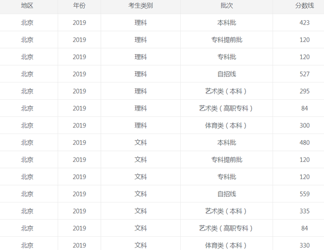
北京2019年高考分数线

高考填报志愿的方法
一、高考志愿填报注意考生未来职业选择和方向
考生及家长在填报高考志愿时要结合自己的高考分数和兴趣爱好综合考量之后再进行选择,确定好报考专业的范围和培养目标,并对自己的未来职业生涯和规划有一个准确的认识。
二、掌握一些高考志愿填报的系统知识
高考志愿对于考生来说的重要作用并不次于高考,高考志愿的填报决定了未来被哪一个专业录取,以及毕业以后的工作选择和方向。因此考生和家长需要多方了解高考志愿的系统,掌握其中的各方面信息和渠道,参考一些准确的信息,运用科学的方法进行合理决策并成功填报高考志愿。
三、高考志愿填报要选择好院校和专业顺序,并决定是否服从调剂
考生在填报高考志愿时的排列顺序是:院校、专业、是否调剂。在院校的顺序选择上一般是吧最喜欢并且最想要报考的排在最前面的志愿;专业顺序的选择也是把自己想要报考的专业并且比较有优势地位的专业排在前面一些;对于是否服从调剂的问题要结合自身的高考分数,不要过高估计自己的分数,但是也要合理确定院校分数线。
20万位次的考生怎么填志愿
①如果打算考本科,那么可以选择公办的本科院校来冲刺,能录取个公办的本科院校就不错了,那么就别挑剔专业了,如果想专业优先可以考虑民办的本科院校。如:山东英才学院,山东协和学院,烟台南山学院,山东财经大学燕山学院等等。
②如果就想选个好一点专业,还要去个公办学校的话,可以选择一些公办学校的专业专业,比如中国药科大学的专科,中国民航大学的专科,华北理工的专科等等,省内可以选像青岛科技大的专科,山东第一医科大学的专科,潍坊学院的专科等等,因为这个分数在专科里面算是高分了,所以选专业可以选自己喜欢的,或者相对优势的专业。
③这个位次还可以选3+2贯通的本科高校,就是说录取后3年是在一个普通的专科院校里面就读,但是他对接的本科高校还算不错,无非人家本科上四年,这个上五年,但是毕业后也是一个相对不错的本科。3+2贯通是上完3年后进行一次测试,据说难度不是太难,只要上学期间认真学点,升入本科基本没啥大问题。这样的学校有很多如:山东商业职业技术学院、日照职业技术学院,山东职业学院,莱芜职业学院等等,具体还是要看他对接的那个本科院校是哪个,既然是高分段了就可以选择一个好一些的本科院校。
④这个分数如果想报考士官学校也可以,有些本科院校里面也有士官的培养专业,比如潍坊科技学院,也可以专门报考士官的学校,如第二炮兵青州士官学校。这个就是自己的选择了。
北京2021高考分数线与录取线相关文章:
