2022年陕西高考预计分数线
陕西的高考分数线终于出炉了,要知道高考分数线关乎到高考志愿的填报,下面是小编为大家收集的关于2022年陕西高考预计分数线_2022陕西高考录取分数线。希望可以帮助大家。
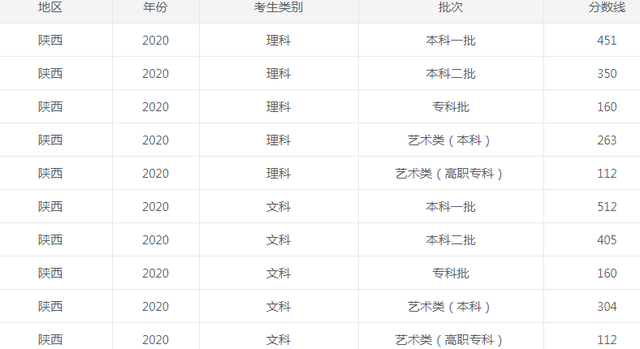
由于2022年陕西高考录取分数线还未公布,同学们可以对照一下陕西往年高考分数,以供参考!



(一)志愿填报时间
高考志愿安排在通知考生成绩之后填报,其中本科提前批志愿填报截止时间为6月25日17:00,其余本科志愿填报截止时间为6月29日12:00,专科志愿填报截止时间为在7月5日12:00。
对口招生志愿填报截止时间为6月29日12:00。
(二)录取批次安排
I.我省今年普通高校招生录取批次设置为本科提前批、本科第一批、本科第二批、专科提前批、专科批共5个批次。
本科提前批录取高校(专业)包括军事院校,公安院校,国家公费师范生,国家优师专项计划,农村订单定向医学生,空军、海军和民航招飞院校,航海类等艰苦专业,全国重点马克思主义学院的马克思主义理论专业以及其他经教育部批准的特殊高校(专业),有关高校综合评价招生等教育部规定可安排在提前批录取的本科高校(专业)。
本科第一批录取高校(专业)包括教育部直属高校、世界一流大学建设高校和一流学科建设高校、部省共建的原部委属重点高校、经核准参加本批录取的本科高校(专业)。
本科第二批录取高校(专业)为除本科提前批和本科第一批之外的本科高校(专业)。
专抖提前批录取高校(专业)包括需要单独面试的定向培养士官试点院校、公安院校专科和航空服务专业专科,以及航海类专科和省级公费师范生专科。
专科批录取高校(专业)为除专科提前批以外的所有高职(专科)高校(专业)。
各批次安排的高校、专业详见我省《招生考试报》。
招收二类模式招生考试考生的藏文、彝文专业按本科(不区分本科一批、本科二批)、专科分别设置学校志愿,本科安排在本科第二批录取,专科安排在专科批录取。
各批次预科志愿同批填报。
对口招生分本科、专科两个批次填报。
一类模式本科、专科、本科顸科、专科预科志愿按所报高校安排批次填报和录取。
2.国家专项计划和地方专项计划在本科提前批结束后、本科一批开始前录取,其中有特殊要求的公安、武警院校国家专项计划在本科提前批录取。
省属高校帮扶专项计划录取安排在地方专项计划后、本科第一批前进行。
乡村振兴计划安排在本科一批后、本科二批录取前进行。
省级公费师范生的录取安排为:本科与乡村振兴计划录取一并进行,专科层次小学教育“一专多能"计划安排在专科提前批录取;省级公费师范生一类模式本科录取安排在一类模式本科第一批后本科第二批前进行,省级公费师范生一类模式专科录取安排在一类模式本科第二批后专科批前进行。
3.高职学院面向藏区试办高中起点“1+2"模式高职教育(以下简称藏区“1+2")志愿设置在专科批志愿之后,符合条件的考生可选择填报。
具体办法另文通知。
4.报考除香港中文大学,香港城市大学以外的港澳高校的考生,直接登录港澳各高校网站进行网上填报。
5.拟报考高中中专的考生,参照《招生考试报》公布的中职学校招生目录,直接与相关学校联糸,参加学校自主招生录取。
(三)志愿设置
1.本科提前批和专科提前批分别设置1个第一志愿和2个平行第二志噁,本科提前批设置一个预科志愿;
本科第一批、本科第二批、专科批、对口招生本科和专科均设置9个平行的第一志愿(按从前到后的自然顺序为A、B、C、D、E、F、G、H、I,下同),本科第一批、本科第二批(含三州民族地区本土生源招录培养计划本科预科)、专科批均设置6个平行的预科志愿;本科第二批和专科批各设置3个平行的二类模式招生考试藏文、彝文志愿,每个学校志愿内设置6个专业志愿和专业调配志愿。
2.在本科提前批录取的国家专项计划及国家优师专项计划一并设置9个平行志愿,本科提前批后录取的国家专项计划、地方专项计划分别设置6个平行志愿。
国家专项计划、地方专项计划每个学校志愿内设置6个专业志和专业调配志愿。国家优师
专项计划每个学校志愿内设6个专业志愿,不设置专业调配志愿。
省属高校帮扶专项计划设置6个平行志愿,每个学校志愿内设置6个专业志愿和专业调配志愿第一轮志愿限实施区域内合格考生填报。
乡村振兴计划与本科层次省级公费师范生(不含一类模式)一并设置9个平行志愿。每个学校志愿内设置6个专业志愿。
省级公费师范生一类模式本科、专科均设置6个平行志愿。省级公费师范生专科层次小学教育“一专多能"计划设置1个第一志愿和2个平行第二志愿。每个学校志愿内设置6个专业志愿。
三州民族地区本土生源招录培养计划专科设置3个平行志愿。每个学校志愿内设置6个专业志愿。本科提前批和本科第一批分别设置1个高校专项计划志愿、1个高水平艺术团志愿和1个高水平运动队志愿(其中本科提前批志愿仅限只在该批次有招
生计划的高校的合格考生填报),本科第二批设置1个高水平运动队志愿。每个学校志愿内设置6个专业志愿和专业调配志愿。
3.愿意服从学校专业调配的考生,应选择该高校志愿内的专业“调配"栏,未选的,视为不愿意服从专业调配。
各录取批次均不设置高校调配志愿。
4.各批次只在第一志愿中设置定向志愿(平行志愿为A志愿)。
报考定向就业招生学校且愿定向的考生,应填报该校定向专业志愿或选择该校的“定向调配"栏,录取时,若填报定向专业志愿生源不足,学校可调配录取选择了“定向调配"栏的考生到定向专业。国家专项计划、地方专项计划、国家优师专项计划、省属高校帮扶专项计划、乡村振兴计划、三州民族地区本土生源招录培养计划、省级公费师范生、免费医学定向和定向培养士官志愿不受院校志愿序号和专业“定向调配"志愿的限制。
5.报考外语(理)的考生,可以兼报理工的高校或系(科)、专业;
报考外语(文)的考生可以兼报文史类的高校或系(科)、专业;报考艺术和体育类专业的考生,可以兼报空军、海军、民航招飞和除本科提前批以外的同科类其他普通高校、兼报空军、海军和民航招飞时,招飞志愿优先于艺术和体育类专业志愿(体育单招除外)。
6.各批次招生计划未完成时,采取公开征集志愿的办法补充生源。
未被录取且符合征集志愿条件的考生可以填报征集志愿。征集志愿一般为数个学校的平行志愿,志愿个数根据当次未完成计划情况确定,其中,本科第二批最后一次征集志愿时,志
愿设置为1个一志愿。
7.一类模式本科、专科、预科志愿设置情况另文规定。
(四)志愿填报办法
全省实行网上填报志愿的方式。考生应认真阅读有关高校招生章程以及我省公布的招生规定、招生计划,按有关规定和要求选择填报学校和专业志愿,并对所填报志愿的真实性和准确性承担责任。因考生本人疏漏或失误造成的后果,由考生本人承担。
考生在规定的时间内在网上填报志愿并提交确定,填报截止时间后,所填志愿一律不得更改。在规定时间内未完成志愿填报的,视为自愿放弃。考生应妥善保管自己的上网登录账户密码。各级招生考试机构和高级中等教育学校要组织力量加强对考生志愿填报的政策解读和技术指导。
考生填报志愿结束前,各级招生考试机构不得将考生高考成绩提供给高校。
县(市、区)招生考试机构按照省统一编制的软件打印《四川省2021年普通高校招生考生志愿表》(简称《志愿表》)。
各市(州)招生考试机构要建立完整的信息管理流程和办法,负责汇总、整理、上报考生的志愿信息,确保信息完整、准确、安全,各级招生考试机构不得擅自向外界泄露志愿填报汇总统计信息。
一、位次优先
一个考生对应一个位次,这个位次是唯一确定的,也就是说,考生的分数在排序的时候起到关键的作用。分数高的考生排在前面,就会比分数低的考生先检索。
同一分数在排名时,不同省份有不同的规定,文理科一般也规定不一样。所以提醒亲们,一定要了解本省对总分相同的情况下按照单科排序的相关规定规则。比如某省的文科规定分数相同时依次看语文、文综、数学、英语(课程)的单科成绩。
例如:AB两位考生,都是600分,如果A考生语文是140分,B考生语文是139分,那么如果A考生排名在160位,B考生则排位在161位。在平行志愿投档时,优先检索、投档排位在160的A考生,然后考虑排位在161位的B考生。
二、遵循志愿
在检索每个考生的院校志愿时,严格遵循考生所填志愿的顺序。
如果考生的志愿被投进某一个学校了,比如被B志愿录取,则不再看他的CDE志愿,而开始检索下一位考生。
如果考生的志愿被投进某一个学校了,比如被B志愿录取,则不再看他的CDE志愿,而开始检索下一位考生。
三、一轮投档
对于考生个人来讲,在某一批次录取时,考生只能投档到一所志愿院校。一旦检索到考生所填报的某个志愿院校还有余额,就不再检索考生其后的志愿,实行一轮投档。
