陕西省2022高考录取分数线是多少
推荐文章
大学的每个专业在每个地区招收的人数不同,分数线主要是根据报这一专业的人数划定的。以下是小编为大家带来的陕西省2022年高考录取分数线是多少,希望您能喜欢!

陕西省2022年高考录取分数线是多少
鉴于2022年陕西高考分数线尚未公布,同学们可查阅往年的高考分数线,进行一定的借鉴及分析哟!
2021年陕西高考分数线

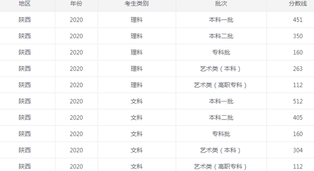
2020年陕西高考分数线

高考体检前应注意什么
回答:1、体检前一天不要熬夜,晚上十时前休息。睡眠不足会导致免疫力下降,很容易患上感冒,过度疲劳、熬夜还可引起转氨酶一过性增高。
2、上午体检者,禁食早餐,头一天晚餐宜清淡,避免引起早搏。下午体检者,上午九时以前可进少许清淡饮食,禁食午餐。体检前一周尽量避免服用药物及营养品,以免影响转氨酶的结果,如病情需要,则不必强行停药,检查时向医生讲明。
3、穿宽松的内衣裤、干净的鞋袜,穿无系带的鞋子,以便穿脱。胸透时胸前不要佩戴金属的饰品、挂件等。
4、平时佩戴隐形眼镜者,眼科检查前应先摘掉隐形眼镜,改用易于摘戴的框式眼镜。
5、提前到达体检医院,稍事休息,等待编队、编号。切勿匆忙赶到医院,情绪紧张导致血压偏高。
高考体检前注意常识
1.不参加剧烈运动,避免感冒
体检前一周尽量不参加剧烈的体育运动,避免不必要的受伤。同时,同学们要注意增添衣物,避免感冒。感冒服药可能会对血液等一些体检项目的检查结果产生影响,考生在体检时要及时向医生说明情况或要求复检。长期服药的同学,在体检前应及时咨询医生是否需要停用,会不会对体检产生影响。
2.有过手术,记得带上证明
做过手术的同学一定要提前准备好手术证明,体检当天记得带上,避免不必要的麻烦。例如有过阑尾手术的同学,医生检查时就会发现腹部的伤口,这时就需要考生出具手术证明,及时向医生或者带队的老师反映说明情况。
3.饮食清淡,注意休息
在体检前一天,广大考生在饮食上要尽量清淡,不吃辛辣、油腻、不易消化的重口味食物,更不能抽烟、饮酒,避免影响正常的体检指标,注意休息,调整睡眠,不要熬夜。
4.不能参加体检须提前说明
因病或因其他原因不能按时参加体检的,须提前向老师或县市区招生办说明,由县市区招生办与体检医院协商后另行安排时间进行体检。有过病史的,要如实提供病史,按程序体检。不得有隐瞒病史、代检等行为。
高考各科答题时间分配
一、高考语文答题时间分配
高考语文的总分是150分,考试时间是150分钟,考生要合理分配好高考语文的答题时间,对于一些比较基础的默写试题尽量用最少的时间,高考语文作文和阅读理解的重点部分要占用稍微多的时间。
二、高考数学答题时间分配
高考数学在考试前的五分钟建议各位高考生先浏览一下整张试卷,看看大题部分都有哪些题型,有没有以前做过的类似题型,对高考数学试题的整体难度有一个基本的把握。最后还有留出一部分的高考数学试卷的检查时间,检查自己有没有计算错误的失分项。
三、高考文综理综答题时间安排
高考中的文综和理综考试都是由三个科目组成,因此要求考生安排好各个科目的答题时间,尽量合理分配,不要顾此失彼。建议还是按顺序进行答题,这样不容易出现漏题的现象。
高考前需要准备什么
首先,你要准备好一个良好的备考心态,也就是考生要学会调节自己的考前状态,让自己拥有一个良好的状态去面对考试。考前可以适当的运动放松一下。
其次,在考前几天正式天气升温的时候,考生要保证自己的身体状况是状态。因为是夏天考试,所以准备一瓶水,建议是准备一瓶苏打水。另外,容易中暑的同学建议带一个藿香正气水。
接下来就是考生在考场当中你需要用到的东西的准备了,其中最重要的是准考证,每年都有同学因为忘记带准考证而影响考试的,所以准考证大家一定要带好。
答题工具像中性笔、铅笔、2B铅笔、橡皮、圆规、直尺等都是最基础的答题工具,必须提前准备好,而且在这里建议大家可以准备两套文具,其中一套作为备用,防止突发情况的发生。
最后就是自己了,高考前要调整心态,好好放松自己,但不能过于放松。切忌暴饮暴食。在高考前一天,有精力的可以翻看一下教材。
高考前三天注意事项
1、高考前不宜过度的疲劳,坚持正常作息
一般情况下,高考前三天每个高中都会放假,为了让学生更好,更充分的准备高考,但在这几天之中学生往往会因为心情紧张,混乱等心理加大复习量,以求心理上的安慰,这就造成了因过度复习而影响了正常作息,打乱了已形成的生物钟,且复习效率不高。
高考前三天不应有大量的运动,否则会造成过度疲劳,休息时间过长,生物钟失调等,会影响高考考场上的正常发挥。高考前三天是一个特殊的时期,但却不宜特殊的对待,只需要在平时复习的基础上,稍加调整,保持原有的正常作息时间即可。
2、高考前不宜再增加外来心理压力
高考前学生都会接受到来自家长及亲戚的不同程度的关心,有些家长过度的关心,会增加学生的心理压力,从而盲目,不合理的复习,且心情烦躁,觉得自己对于各学科的知识点都是模糊的,减少了对考试的自信。因此,在高考期间家长只需要给予学生适当的关心即可,若学生要求高考时不需要家长的陪同,家长应尊重其想法。
考前三天学生的大量时间应该会在家中度过,因此容易胡乱想象,但有一点必须注意——尽量不要想象高考后有关成绩的一切东西,否则会增加心理压力,减弱复习效果,只需要认真,按照自己规定的计划复习考试便可。
3、高考前的复习应该以课本知识点为主
高考前三天往往心情比较烦躁,不知道自己该复习什么,要做什么,于是进行了大量的习题训练,但归根到底知识点才是最值得学生重视的东西,因为习题的答案来源于知识点,且做题是比较浪费时间的,尤其是高考中的大题,而且做完之后还有可能会做的继续会做,不会做的继续不会。因此高考前三天加强对知识点的复习,减弱做题强度是比较适合大多数学生的办法了。
在高考考场上往往会发生情绪紧张等问题,容易忘记比较熟悉的知识点,就是感觉自己知道却又无法将它清晰的表达出来,也无法对知识点进行运用,之后将会在考场上产生不自信,怀疑自己对知识点的掌握情况等,所以高考前应该再次复习一遍知识点,尤其是自己在平时考试中容易忘记的那种知识点。
每个人都知道高考一次,无比重要,但很少有人会知道高考前三天的复习方法,作息习惯也是非常重要的。做好考前准备也是赢得高考的关键哦。
