2022安徽省高考分数线【预测】
众所周知,高考录取分数线是每年高考结束后,由省级教育招生主管部门统计后公布,每年高考分数线也是大家比较关注的事情,以下是小编为大家带来的2022年安徽省高考分数线【预测】,希望您能喜欢!

2022年安徽省高考分数线【预测】
鉴于2022年安徽高考分数线尚未公布,同学们可参考往年的高考分数线,进行一定的借鉴及分析!后续会及时更新该省今年高考录取分数线!敬请期待!
2021年安徽高考分数线

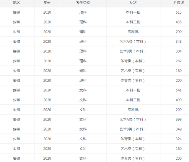
2020年安徽高考分数线

体育生考警察专业难吗
体育生如何考警校
1警校公安类专业一般都不招体育生。所以,你真想当警察,读警校,就不要读体育生。警校招生需拥护四项基本原则,热爱祖国,热爱人民,遵纪守法,品行端正,组织纪律性和法制观念强,志愿从事公安保卫工作,毕业分配能服从组织安排等。
2.体育生如果是要考取警察的话,那么可以在高考的时候参加相关专业的报名,但是警察学校的要求很高,他们在考生的筛选上会有比较高的标准,所以考生要做的就是达到学校的要求和标准。
怎么做警察
而体育生怎么才能成为一名警察呢?可以通过高考之后报名参加警察学院的方式,还可以通过公务员考试,这些都是有效的措施。建议如果是对警察有兴趣的体育生,一定要重视这些要求、文科知识,还有就是相关的考试准备。要充分做好这些系统的工作,这样才能让自己达到这个工作岗位的要求,实现做警察的心愿。
提高自己的文化成绩
体育生要做警察的话,自然是要重视文科知识的。如果是提高文化知识,必须要重视政治、数学和英语等科目,这些都是最基本,也是最需要提高的科目内容。具体可以看看不同学校的要求和标准。如果是有自己的心仪学校,那么可以通过网上来了解到学校的对应要求,这样有助于提高自己的录取概率。
填报高考志愿有什么技巧
填报志愿的过程中,如果能正确把握填报志愿的梯度,就能增加被录取的几率。因此,考生要处理好第一志愿和非第一志愿的梯度,以及平行志愿之间的梯度要正确处理第一志愿和非第一志愿的梯度。高考填报志愿各批次的第一志愿很重要,特别是一些院校第一志愿满额率高。但这并不能说明二、三志愿就不再重要。
在每年的录取中,总有一部分院校第一志愿生源不足,要录取第二志愿,甚至通过调剂、降分才能完成招生计划。因此,不能因为第一志愿满额率高就忽视第、三志愿填报。在各志愿填报时,一定要注意拉开梯度,慎重填报第二、三志愿。如有的本科一批院校,为了提高生源的质量,通过政策规定和志愿分数级差等形式,每年都在第二、三志愿中择优录取部分高分考生。
要冷静、理智。考前报志愿的考生不知道自己能考出什么水平,复习正处于冲剌阶段,压力很大,往往不能冷静对待填报志愿。
考后估分报志愿的考生担心估分不准,或者因为考得不好影响心态。分数公布以后再报志愿的,有些考生发挥不理想,不能面对现实,情绪低落。
无论属于哪种情况,我都要一再强调,填报志愿时一定要冷静、理智地进行分析,不能让一时的情绪变化左右填报志愿的倾向。
不要盲从。填报志愿时同学间会相互讨论、相互商量,这是非常好的事情,但是也难免相互模仿、相互感染。
一个同学报某个学校某个专业,其他水平相当或分数相近的同学也想报这个学校这个专业,容易造成扎堆。各人的实力不一样,爱好兴趣不一样,不能相互模仿,相互模仿造成的扎堆现象对高考录取是很不利的。
选择大学的时候,不仅要结合你分数,还要看往年的录取线,其次是要看专业的受欢迎度,太热门的专业它的录取分数线是很高的,尤其是一所知名度很高的学校,一定要选择自己喜欢的学校和专业。
高考期间的注意事项是什么
1、饮食一定要注意
很多家长为了孩子在高考期间能够发挥出好的成绩,刻意给孩子每天吃大鱼大肉,这样的方式是严重不可取的。高考期间的饮食一定要以清淡为主,保持和平时一样的饮食习惯即可,不要为了补充营养而刻意多吃,如果高考期间拉肚子了,后果会很严重。
虽然高考期间饮食不要多吃,但也不能走极端而故意少吃,饭吃不饱身体就无法将大量的血液运输进大脑,这样同样会影响考生在高考期间的状态。
2、心态最影响发挥
其实高考期间最影响发挥的便是考试心态,很多考生心态不好,紧张其实是因为害怕自己高考时发挥不好,从而给了自己过多的压力,压力越大反而越影响发挥。
在考试的时候,只需要将高考当作平时普通考试去对待即可,很多考生在高考期间往往因为过度紧张而导致发挥不佳。
高考也不是只有一门单独的考试,它是很多科目的综合考试,一门科目没有发挥好并不代表着后面的科目也会有不佳的发挥,只要能够把握住后面的考试,一样可以考出让考生自己满意的成绩。
