河北2022高考分数线
推荐文章
大家在等待自己高考成绩公布的时候,也应该关注一下高考分数线的公布,看看自己的高考成绩,可以报考哪些大学。下面是小编给大家带来的河北2021高考录取分数线,以供大家参考,我们一起来看看吧!

2021河北高考分数线:

2020河北高考分数线:

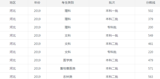
2019河北高考分数线:

高考志愿准备六步走
第一步、熟悉政策
考生家长对于本省的高考政策要有一个整体的把握,明白哪些政策非常重要,哪些和自己切身利益密切相关,重要政策当年是否有变化。像常识、动态、公示、政策等等……例如考生家长起码要知道所在省份有几个批次志愿,每个批次需要填报几所志愿学校,可以报考几个专业等等。
第二步、收集信息
信息和渠道的来源至关重要。一般来说,考生家长可以选择的权威渠道大致这么几条:阳光高考信息平台;当地考试院及高校官网、官方微博、微信公众号;高考高招类报纸、广播电视节目等。还可以参考一些与高考相关的博客、论坛、家长圈,相互交流获得专业知识。
第三步、准确定位
定位是填报志愿中最重要的一步。我们都知道,高考录取时是将一定范围的学生,按其填报的志愿和高考成绩进行排位,从高到低,位次越高,被录取的机会就越大。填报志愿前考生可以根据平时成绩或模拟成绩来定位,看看自己在班、学校、区甚至整个省市所处的位置。
第四步、知己知彼
俗话说:“知己知彼,百战不殆”做好了定位“知己”,还要做好“知彼”的工作。“知彼”的过程就是除了政策法规之外,还有弄清各个招生院校的基本情况。如学校当年的招生章程、招生计划、往年在本省的提档线、专业线、师资力量、专业设置、学科特长、就业及深造情况等等。
第五步、初选志愿
“初选志愿”是结合自己的成绩定位,确定目标院校。完成第三、四两步考生和家长对高考志愿应该已有方向了。这时,考生可以大致划定一些在你省有招生计划的院校,并认真阅读招生章程,比较各院校之间专业的招生人数、录取分数等数据,选择和自己兴趣、分数、批次相符合的院校。
第六步、模拟填报
“模拟填报”就是根据本省、市的志愿设置情况,将考生的高考志愿草表完整的呈现出来,做一遍真实的模拟。这样做的好处就是减少失误。目前高考都是在网上填报志愿,在规定时间内完成,逾期不予补报。每年在志愿填报中出现的操作失误、丢失密码等问题比比皆是,再加上网络系统繁忙难免手忙脚乱,所以提前模拟有备无患。
怎么选择专业和大学
当考生知道自己高考成绩后便开始准备高考志愿填报。很多家庭因为高考志愿而开始忙乱起来。忙属于正常现象,乱就有点不正常了。乱是有原因的,主要是因为很多家长没有上过大学,对于大学和专业了解太少。考生忙乱和迷茫主要是分数不太理想,不知道咋样选择专业和大学。
今天我们先说最前置的一点,那就是知道成绩后如何查询能上哪些大学。
我想大部分家长的做法就是翻开本省的高考志愿填报大本,一个个学校看,但这种数据的收集不仅效率低,还不科学,因为人脑很难把前后的数据关联起来。
现在都是大数据时代了,像志愿填报这种大数据量的当然要通过大数据分析来解决,目前国内在这一块做的非常不错,有很多像样的志愿填报系统。
比如_,他们的数据来源是将每个省份的志愿填报指导大本进行数据整合转成电子数据,然后再人工校对,形成数据基础,再通过数据分析处理和算法计算,针对不同省份不同成绩给出能上的大学列表,并针对每个大学给出录取概率。
河北2021高考分数线相关文章:
