2022湖南高考分数线最新
推荐文章
高考并不能成为成功的唯一出路,但高考是人生中一次很重要的经历,不需要带着太多的期望来面对高考,但是一定要珍惜这次人生中难得的磨砺。下面就是小编整理的2022湖南高考分数线最新_2022湖南高考分数线公布,希望大家喜欢。
湖南2022年高考分数线
由于2022年湖南高考分数线还未公布,同学们可以对照一下往年高考分数,以供参考!
湖南2021年高考分数线

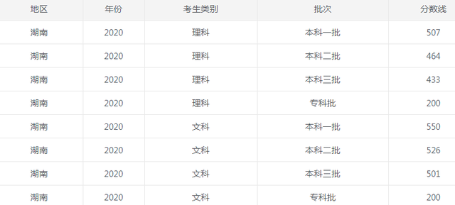
湖南2020年高考分数线

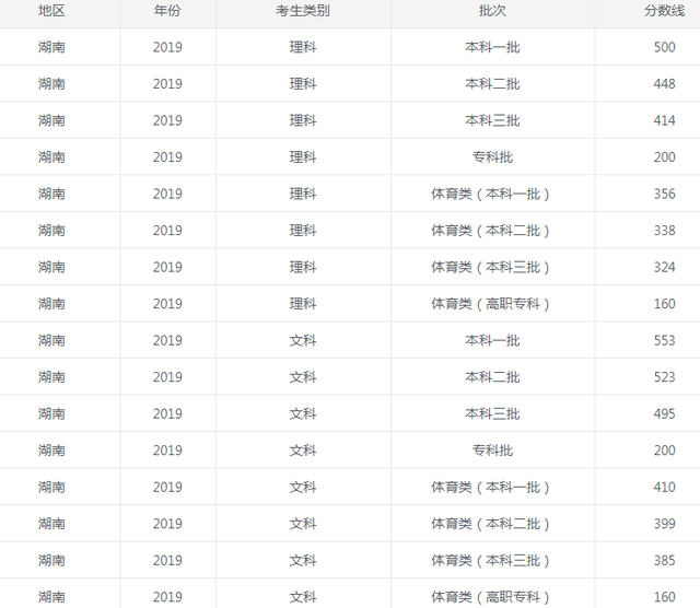
湖南2019年高考分数线

高三学生英语学习方法
分析存在的问题
l.时间安排问题
(1)是否很少在学习前确定明确的目标(2)是否没有固定的时间安排(3)是否常拖延时间以至于作业都无法按时完成(4)学习计划是否是只能在开头的几天有效 (5)是否把所有的时间都花在学习上。
2.注意力问题
(1)注意力完全集中的状态是否只能保持10至15分钟(2)学习时,身旁是否常有小说、杂志、电视等分心的东西(3)是否常与人边聊天边学习。
3.学习兴趣问题
(1)是否一见英语书头就发胀(2)是否喜欢其他学科,不喜欢英语(3)是否常需要强迫自己学习
4.学习方法问题
(1)是否经常采用题海战来提高解题能力(2)是否经常采用机械记忆法(3)是否从未向学习好的同学讨教过学习方法(4)是否从不向老师请教问题(5)是否很少主动钻研课外辅助读物。
回答上述问题,回答“是”越多,你的学习效率就越低。每个有学习问题的学生都应从上述四类问题中列出自己主要毛病,然后有针对性地进行治疗。
自我改进和提高法
1.自我塑造法
(1)选择一个目标进行突破。经过对学习效率低的原因分析,找出自己的症结所在。首先选择其中较为可行的一项进行重点突破。某些学生在接受长辈一顿训斥后,立即制定一个宏大的学习计划,其实这种计划十有八到九是执行不下去的,要根据自己的实际情况,从某一方面进行突破。
(2)实行新的学习程序。如果你的症结是行为拖拉,为克服这个缺点你就应该给自己订一个规则,每天不完成预订的任务不睡觉;如果原因是对英语不感兴趣,则首先努力去改变单调枯燥的学习方法,将英语学习与工作、娱乐、陶冶性情结合起来,坚持一段时间后,随着良好习惯的形成,学习兴趣就会逐渐浓厚。
2、形成一些好的习惯和学习策略,
要尽可能的形成如下学习习惯:
(1)养成提问的好习惯。它不仅有助于语言学习,也是个人成长的好习惯;(2)学习时要经常准备好学习的工具,如字典、软件、记录本等,将不明白的地方随时记录下来或者直接进行查阅(3)将经常出错的地方记录在一个小本上,不断温习巩固,并避免重复犯错;将朗读作为每天早晨起来以后的一个习惯动作(4)挑选语言优美的经典名片作为背诵的对象。不要光为了背诵而背诵,将语音的练习、内容的欣赏、单词的记忆、句型的巩固、语感的培养有意无意地作为背诵的目的(5)将复习作为学习的一个重要过程,制定一些学习和复习的计划。
形成如下学习策略:
(1)在英语学习的过程中要树立自信(2)了解思维差异,即以英语为母语的人在思维方式上与我们中国人的差异。"思维差异"需要在平时的阅读中不断地感受、体会,积累英语中对各类事件的描绘和阐述方式,才能在自己的表达中运用自如(3)学习英语所承载的文化概念(4)经常将英语和中文进行对照对比(5)要有文体意识。
加大阅读训练的力度
英语学习必须要有大量的阅读作为基础,高考也越来越注重对阅读能力的考查。有调查表明,英美国家中小学生在不经过专门的阅读训练前,阅读速度为240-250wpm,正确理解率为70%左右。经过专门的训练后,阅读速度为400-500wpm,且阅读理解率为70%以上,较训练前有很大的提高。这就说明,阅读能力的提高是可以通过某些特殊的训练来取得的。量变可以引起质变,我们在学习的过程中只有长期坚持不懈地把阅读抓下去,按照既定计划按部就班地学习定能够取得优异的成绩。
构建自己的语法体系
英语学习不能死扣语法,但又不能不学语法。我认为英语语法学习应该从宏观着手,用宏观指导微观,而不能把英语学得过于微观了,把英语学习停留在背诵记忆的基础上。英语学习就是要有意识地去构建自己的语法体系,并且用自己所构建的语法体系去指导自己的学习,使自己的语法学习有的放矢,不至于太盲目。
坚持就是胜利
每天必备的训练:
(1)听磁带20分钟。要选高考听力模拟试题,有针对性的强化练习,并复述听到的内容提高口语表达能力
(2)理解并记忆10个左右新词汇,可以参考大学四级词汇
(3)阅读两篇400字左右的文章并完成相应的练习(限定时间:一般为5分钟一篇文章)
(4)有目的的整理当天或者近期学习内容,做到举一反三
2022湖南高考分数线最新相关文章:
