2022湖南一分一段表
湖南高考成绩分数段(一分一段表)是很重要的填报志愿的依据,也是各大高校划自己分数线的一部分依据。以下是小编为大家带来的2022湖南一分一段表查询,希望您能喜欢!
2022湖南省高考一分一段表
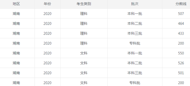
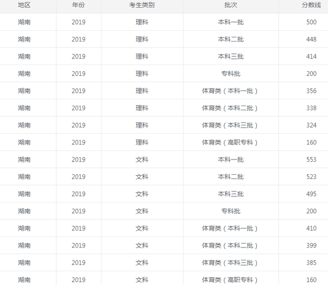
鉴于2022年湖南高考一分一段成绩表尚未公布,同学们可参考2021年湖南高考一分一段成绩进行一定的借鉴及分析!
2021年湖南高考一分一段成绩表



提前批志愿填报技巧
1、艺术类本科提前批设第一、第二两个志愿,每个志愿设1个高校志愿、4个专业志愿及专业是否服从调剂志愿。需要注意的是提前批这两个志愿不是平行志愿而是顺序志愿,以志愿优先,因此需要认真考虑第一志愿院校的填报。
2、普通文理类提前批:本科在录取前填报1次志愿,录取过程中征集1次志愿,均填报1所高校,6个专业志愿及专业是否服从调剂志愿。征集志愿时增设高校是否服从调剂志愿调剂志愿,设3类高校及专业(军事、公安、其他)及专业是否服从调剂志愿。这里要注意,如果分数不是特别高,可选择提前批来拔拔高,除非特别想上提前批次的学校或专业,否则请慎重选择学校是否调剂志愿。提前批没有录取不影响一批次志愿的填报和录取。
3、专科提前批(含直招士官):设1个高校志愿和高校及专业是否服从调剂志愿。高校志愿均可填报6个专业及专业是否服从调剂志愿。
提前批征集志愿和本科一批哪个先录取
1、高考投档录取严格按照批次顺序进行,只有前面批次录取完成后,才会开始下一批次的录取。
2、提前批录取的为艺术类,军校,国防生,警校,司法,免费师范等学校和专业。填报提前批志愿如果没有被录取,不影响下一批次的录取。
3、本科一批为985.211等重点院校及专业,本科二批为普通学校和专业。
4、如果你填报正常批次志愿没有被录取,就可以填报征集志愿。在正常批次录取后,会有部分学校没有招够人数,招考办会公布没有招够人数的学校,没有被录取的考生就可以填报征集志愿。
征集志愿与补录的区别
首先在时间上,征集志愿和补录时间不同。征集志愿是在正常批次的志愿填报之后,由院校根据招生计划缺额安排的志愿征集环节,一般是在7、8月之间进行。
补录是在高考录取之后或者院校开学之后的缺额补录,时间上是安排在9、10月份进行。
征集志愿时由各省教育考试院公布具体志愿征集时间和批次顺序,而补录则是也院校为单位,录取没有满额的院校会公布缺额计划,届时考生可参加该院校的补录环节。
征集志愿和高考补录虽然有区别,但是也都是招生计划缺额的情况,因此考生在填报征集志愿和高考补录时都要做好相关准备。
一方面,要正确对待高考补录和征集志愿环节,已经录取的考生是不可以参加征集志愿及补录的。
另一方面,征集志愿和补录的考生需要关注志愿填报时间及补录院校和相关专业,确保自己在补录和征集志愿的过程中可以提高录取机会。
什么情况会高考补录
会进行高考补录的情况主要有两种。一是,高校在第一次志愿填报招生市报考的人数没有达到计划的招生人数。
另一种情况是,招生人数和计划人数基本持平,但是在开学报到时没有全员进行报到,这部分学生已经超出了报到入学的时间,并且已经被取消了入学资格,这时候就会使得该校仍然空出一部分的招生名额,此时就会进行高考补录。
