2022江西高考分数线公告
推荐文章
能够通过高考的检验进入大学的殿堂才能够走的更远、生活的更有意思。今年的高考已经结束了,同学们都考得怎么样啦?以下是小编为大家带来的2022年江西高考分数线公告,希望您能喜欢!

2022年江西高考分数线公告
鉴于2022年江西高考分数线尚未公布,同学们可查阅往年的高考分数线,进行一定的借鉴及分析哟!
2021年江西高考分数线

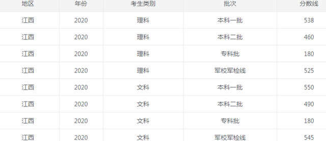
2020年江西高考分数线

高考语文考试应该注意什么
充分利用考前五分钟
按照大型的考试的要求,考前五分钟是发卷时间,考生填写准考证。这五分钟是不准做题的,但是这五分钟可以看题。我发现很多考生拿到试卷之后,就从第一个题开始看,我给大家的建议是,拿过这套卷子来,这五分钟是用来制定整个战略的关键时刻。之前没看到题目,你只是空想,当你看到题目以后,你得利用这五分钟迅速制定出整个考试的战略来。
考试开始后:一般按照试题编排的顺序答题
答题时,要做到冷静、细心,必须认真研究每一个题干要求,题目怎么问就怎么答,既不能,想当然,,也不能,凭老经验,,尽可能做到准确、完整地答题。
(1)做选择题时,我们必须看清是选择,正确的一项,还是,错误的一项,,避免平时练习时出现的粗心大意的毛病;选择过程是个逐步缩小包围圈的过程,应先将明显需要剔除的选项排除,然后再进一步慎重考虑答案。选择题完成后,应把答案及时填入答题卡,以免后面因时间紧而漏涂、错涂。
(2)做文字简答题时,我们必须看清题意,避免答题时出现张冠李戴的情况;如果有字数限制的,要严格按照规定的字数去表达,无把握回答的,要先在草稿纸上草拟答案,然后誊写入答题卷,尤其要注意答题时千万不能出现,越出界外,的现象。
(3)根据大纲规定,写的是一篇大作文,我们必须根据题目要求,做好审题立意、选择材料、谋篇布局和驾驭语言等方面的工作,力图把文章写好。
(4)复查:一般来说,我们回答问题时所产生的最初答案有一定的可靠性,不要轻易改动,在复查时若要改动答案,必须以充分的理论根据作前导;同时,我们还可利用这段时间,对解题过程中丢下的难题作重点思考,防止出现漏答的情况;有的题目实在捉摸不透,也只得连估带猜了。
进入考试阶段先要审题
审题一定要仔细,一定要慢。我发现数学题经常在一个字、一个数据里边暗藏着解题的关键,这个字、这个数据没读懂,要么找不着解题的关键,要么你误读了这个题目。你在误读的基础上来做的话,你可能感觉做得很轻松,但这个题一分不得。所以审题一定要仔细,你一旦把题意弄明白了,这个题目也就会做了。会做的题目是不耽误时间的,真正耽误时间的是在审题的过程中,在找思路的过程中,只要找到思路了,单纯地写那些步骤并不占用多少时间。
控制速度
平常有学生问我:“我在做题的时候多长时间做一个选择题,多长时间做一个填空题,才是比较合理的呢?”
我觉得这个不能一概而论,应该说你平常用什么样的速度做题,考试的时候就用什么样的速度,不要人为地告诉自己,考试的时候要加快速度。其实你考试的时候,速度要是和平常训练的速度差距比较大的话,很可能因为你速度一加快,反而导致了质量的下降。
一场大型的考试,你会做的题目本身就那么多,如果你加快速度,结果把会做的题目做错,而你腾出的时间去做后边的难题,又长时间地解不出来,那么很可能造成会做的题目得不着分,不会做的题目根本不得分。
不要担心“做慢了,做不完”,把握住一点,一个学生的正常考试,如果始终在自己会做的题目上全神贯注的话,这场考试一定是正常发挥的,甚至是超水平发挥。你一直投入到会做的题目中,按照你平常训练的速度,踏踏实实地往前推进。即使你发现时间到了,后边还有题目可能会做但来不及了,我也不认为这是一个令你后悔的结果。最后结果出来你会发现,你最后得到的分数往往会比你的实际水平要高。所以考试的时候要控制速度,我觉得这是考试技巧的一个很重要的方面。
高考语文阅读题答题技巧
1、文章开头一段的某一句话在文章中的作用,中间某段或句的作用,最后一段某句的作用。
对于这种题型我们可以从两个方面来回答:对于第一段的问题,从结构上来说,是落笔点题,点明文章的中心,开门见山,总领全文,或起到引起下文的作用;从内容上来说,是为下文作铺垫和衬托,为后面某某内容的描写打下伏笔。中间某段的问题,在结构上是起到承上启下、过渡的作用。最后一段或某句的作用是总结全文,点明文章主旨,让人回味无穷,并与题目相照应。
2、文章表达了作者什么样的思想感情?
这需要根据文章的具体内容来回答,常见的有歌颂、赞美、热爱、喜爱、感动、高兴、渴望、震撼、眷念、惆怅、淡淡的忧愁、惋惜、思念(怀念)故乡和亲人、或者是厌倦、憎恶、痛苦、惭愧、内疚、痛恨、伤心、悲痛、遗憾等。一般作者的情感可以从文章的字里行间可以看出来的,有的也许写得比较含蓄,有的是直抒胸臆。
3、概括文章主旨。
对于这种题目,在回答之前一定要把全文仔细看几遍,然后可以用这样的关键词来进行回答:“通过……故事,歌颂(赞美)了……表达了作者……的思想感情,揭示了……的深刻道理。我们也可以从文中去找,在文章的每一段特别是第一段或最后一段的第一句或最后一句,文章中富有哲理性的句子往往是作者所要表达的主题。
4、文中划线句子运用了什么表达方式?有什么作用?
看到这种类型的题目,我们首先要看一看这一句用了那种表达方式,叙述、描写、说明、议论、抒情,特别是描写中又分为人物描写、景物描写和带综合性的场面描写。而人物描写还可细分为语言描写、动作描写、心理描写、肖像描写和细节描写,描写的作用是使文章生动、形象、感人。抒情的运用,能增强文章的感染力,突出文章的中心。如果文中有一些神话故事、民间传说以及自然界当中的神奇景象的描述,它的作用是增加了所写内容的神秘色彩,引起读者的兴趣。
高考体检前应注意什么
回答:1、体检前一天不要熬夜,晚上十时前休息。睡眠不足会导致免疫力下降,很容易患上感冒,过度疲劳、熬夜还可引起转氨酶一过性增高。
2、上午体检者,禁食早餐,头一天晚餐宜清淡,避免引起早搏。下午体检者,上午九时以前可进少许清淡饮食,禁食午餐。体检前一周尽量避免服用药物及营养品,以免影响转氨酶的结果,如病情需要,则不必强行停药,检查时向医生讲明。
3、穿宽松的内衣裤、干净的鞋袜,穿无系带的鞋子,以便穿脱。胸透时胸前不要佩戴金属的饰品、挂件等。
4、平时佩戴隐形眼镜者,眼科检查前应先摘掉隐形眼镜,改用易于摘戴的框式眼镜。
5、提前到达体检医院,稍事休息,等待编队、编号。切勿匆忙赶到医院,情绪紧张导致血压偏高。
高考体检前注意常识
1.不参加剧烈运动,避免感冒
体检前一周尽量不参加剧烈的体育运动,避免不必要的受伤。同时,同学们要注意增添衣物,避免感冒。感冒服药可能会对血液等一些体检项目的检查结果产生影响,考生在体检时要及时向医生说明情况或要求复检。长期服药的同学,在体检前应及时咨询医生是否需要停用,会不会对体检产生影响。
2.有过手术,记得带上证明
做过手术的同学一定要提前准备好手术证明,体检当天记得带上,避免不必要的麻烦。例如有过阑尾手术的同学,医生检查时就会发现腹部的伤口,这时就需要考生出具手术证明,及时向医生或者带队的老师反映说明情况。
3.饮食清淡,注意休息
在体检前一天,广大考生在饮食上要尽量清淡,不吃辛辣、油腻、不易消化的重口味食物,更不能抽烟、饮酒,避免影响正常的体检指标,注意休息,调整睡眠,不要熬夜。
4.不能参加体检须提前说明
因病或因其他原因不能按时参加体检的,须提前向老师或县市区招生办说明,由县市区招生办与体检医院协商后另行安排时间进行体检。有过病史的,要如实提供病史,按程序体检。不得有隐瞒病史、代检等行为。
