2022年黑龙江高考录取分数线一览表
推荐文章
嘿, 你们知道吗?普通高等学校招生全国统一考试由国家主管部门授权的单位或实行自主命题的省级教育考试院命制。以下是小编为大家带来的全新2022年黑龙江高考录取分数线一览表,希望您能喜欢!

全新2022年黑龙江高考录取分数线一览表
鉴于2022年黑龙江高考分数线尚未公布,同学们可查阅往年的高考分数线,进行一定的借鉴及分析哟!
2021年黑龙江高考分数线

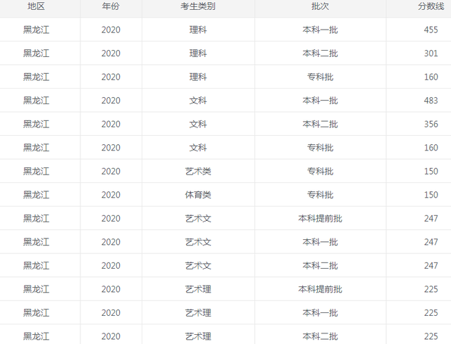
2020年黑龙江高考分数线

志愿填报的基本模式是什么?
专业(类)+院校
采取一所院校一个招生专业(类)为一个志愿,实行平行志愿投档的统一录取模式。
模式特点:专业平行志愿是同一类别、同一段次中若干具有相对平行关系的专业(类)志愿,以一所院校的一个专业(类)为志愿单位,按照“分数优先、遵循志愿”进行投档。
填报须知:直接投档到某院校某专业(类),不存在专业服从调剂,不用担心被调剂到不喜欢的专业。考生既可选择不同高校的同一专业,也可选择同一高校的不同专业,还可以选择不同专业下的不同高校。
院校+专业组
由院校根据人才培养需要和不同专业(含专业或大类)的科目要求设置,是本科志愿填报的基本单位。
模式特点:一所院校可设置一个或多个院校专业组,每个院校专业组内可包含数量不等的专业,同一院校专业组内各专业的科目要求需相同。同一院校科目要求相同的专业可分设在不同的院校专业组中,但这些院校专业组的科目要求须相同。
填报须知:该模式以一个院校加一个专业组为一个志愿单位,将每一个志愿细化到专业组。考生根据自己的意愿,可选择某个学校的某个专业组作为志愿,专业调剂限于同一专业组内调剂。
平行志愿
指考生在填报高考志愿时,可在指定的批次同时填报若干个平行院校志愿。
模式特点:按考生成绩从高到低进行排序,分数高的学生先投档。某一个考生投档时,先看其成绩是否够A院校提档线;如不够,再看B院校;如此类推,直到检索到考生分数符合的志愿院校后,将其投档至该院校。
填报须知:检索考生填报的院校志愿时,是按逻辑顺序即A、B、C、D......院校依次进行的。当考生总分符合首先被检索的A院校投档条件时,且A校有计划余额,该生即被投到A院校。填报时,应在各志愿院校之间拉开适当梯度。
顺序志愿
在同一个录取批次设置的多个院校志愿有先后顺序,每个志愿只包括一所院校。
模式特点:把考生的高考志愿作为录取投档的第一要素,最大程度满足考生的志愿要求。投档时对选报同一志愿院校的考生按院校确定的录取原则、调档比例从高分到低分进行投档。
填报须知:选报同一志愿院校的考生,按院校确定的调档比例从高分到低分进行投档,第一志愿录取结束后再进行第二志愿投档录取。例如考生将A校放在第二志愿,如果A校一志愿已经招满且不预留招收二志愿的名额,那么无论该生分数多高,档案都不会投向A校。
高考如何填写志愿
高考志愿(不含艺术、体育类专业)安排在通知考生成绩之后填报,其中本科提前批志愿填报截止时间为6月24日17∶00,其余本科志愿(含自主招生志愿)填报截止时间为6月28日12∶00,专科志愿在7月2日12∶00前完成填报。对口招生的职教师资和高职班志愿均在6月28日12∶00前完成填报。
主要填的都是号码,我们4102河北是分批次填1653报的内:
提前批,本科一批容a,本科一批b,本科二批a......
每个批次又有第一志愿,第二志愿的院校代码
院校下面又有六个专业代码
还有服从调剂选项。
由院校专业没有系。关键是选择院校和专业。只要认真,填报看似神秘其实很少有因填报而失误的,那都得复查2遍呢。
高考志愿填报需要考量哪些要素
学校的选择
现在的高考志愿填报都是出了考试成绩之后开始填报志愿,中间时间不会相隔太久,所以首先建议同学们可以在高考完之后就先了解一些自己感兴趣的学校。
那么在知道成绩之后,我们如何选择学校呢,主要从以下几方面着手。
第一是根据你自己的分数筛选出你可能上的一些比较好的学校。这时候需要用到的就是在高考之后学校会让你们买的一本关于志愿填报的书,非常厚一本,里面有所有学校的历年分数线等等相关信息。
如果说你觉得历年的分数线可能会差别很大的话,那么还有一个小妙招,就是看省市排名,通常一个学校在一个省市招收的学生的排名一般不会有太大的变化。这时候,你就可以拿起你的笔,将你所有可能上的比较好的学校都圈出来(只要有可能的都画出来)。
第二就是把你画出来的这些学校,都去网上了解一下,途径主要是:官网、知乎、百度、贴吧、宣讲会、学校招生电话、你的高中老师等等。
内容主要包括:学校所在城市的环境,气候,学校综合实力,专业设置等方面。然后排除一些你确定以及肯定一定不会去的学校,剩下的就是你的学校选择大名单了。
地域的选择
筛选出了一些学校之后,很多家长和同学都会考虑的是一个地域因素,这个不作为决定性因素,但是也对于学校的选择或多或少的有一定的影响,比如像“西交大”、“哈工大”等这一类的学校,在工科上也算得上是很好的学校了,但是一个在西北,一个在东北,气候都不是那么的宜人,所以很多同学也不愿意去这样的类似的学校。
其次是关于去“北上广”的问题,一部分同学比较偏好在家附近的城市上大学,一部分同学则是想去外地上大学。那么如果你的想法是想要出去看看,去外面的地方上大学,那么“北上广”当然不失为一个很好的选择。
因为通常在一个地方上学,你可以感受到的并不只是这一个学校带给你的认知,而是整个城市环境对你的整个世界观价值观的影响。
并且如果你毕业之后想在“北上广”这样的城市工作,想接触更好的工作环境、工作伙伴,那么当地学校毕业是具有一定优势的,因为学校他的认知度都是有一定的辐射范围的。比如北京有“清北人师”等。
所以!如果想去追寻更广阔的世界,可以考虑去更发达的城市。
专业的选择
专业可以一定程度上说决定你今后的人生道路是怎样的,从事什么样的行业,有什么样的工作生活。那么在你选择好几所心仪的学校之后,怎么填报专业呢?
首先当然是兴趣第一。大学都有一句话就是“只要专业选得好,回回期末胜高考”,所以如果你非常不喜欢这个专业,那可以说是很悲惨了(当然同学们都不太了解这些专业可能也谈不上喜欢,但是只要不是非常的抵触也就行啦),千万不要因为某些专业热门,然后就不管不顾的就报了,还是应该结合自身的喜好和学习特点来决定报哪些专业。
专业有了大概的几个选择之后,在填报的时候,学姐要提醒同学们同一所学校的不同专业他的录取分数线也是不同的,所以尽可能的把可能性高的写在第一志愿。
再者对于服从调剂的问题,如果你不是非这个专业不上,学姐还是建议大家服从调剂,保守地说,即使上不了那个专业,至少还可以上那个学校,进去之后再根据自己的兴趣转专业也是可以的,很多学校换专业还是比较简单的。
