2022吉林高考录取分数线【公布】
推荐文章
朋友们感受到了吗?其实,高考是一座独木桥,走过这座独木桥的学生就能为自己赢得人生中第一次成功。以下是小编为大家带来的2022吉林高考录取分数线【公布】,希望您能喜欢!

2022吉林高考录取分数线【公布】
鉴于2022年吉林高考分数线尚未公布,同学们可查阅往年的高考分数线,进行一定的借鉴及分析哟!
2021年吉林高考分数线

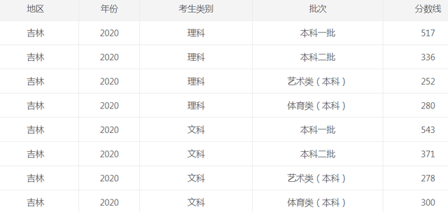
2020年吉林高考分数线

高考本科补录时间
高考补录一般在九月下旬,也就是部分大学开学以后,因部分被录取考生没有到校报到,被取消录取资格而空出名额时,部分学校会进行补录。
在高校确定要补录后,会把信息上报教育主管部门,教育主管部门在收集完信息后,会将要补录的学校名单下逐级下发,直到各县级招办。届时各省招办和县招办都会发出补录通知,同时落榜考生也需要自己随时留意补录信息动态。
大学冷门专业该不该选
其实大学的热门专业和冷门专业各有千秋。
热门专业和冷门专业的选择,大部分人看重的无非就是就业前景会怎样的,想报考热门专业,社会的需求大,供不应求,那么对于这些专业的同学来说,找工作就相对容易多了,而冷门专业则相反,难道这就意味着冷门专业就是一无是处了吗?不是的,冷门专业也有自己的优势,冷门专业虽然报考的人数比较少,但在一定程度上对于这些专业的同学出来找工作的竞争不会太大,比起热门专业的竞争比来说小多了,在考公务员的时候,优势就显现出来了,热门专业的人往往选的岗位都是热门岗位,而冷门专业的人选择的岗位则是比较冷门专业的岗位,在加上岗位专业的限制,于是就出现了很多冷门岗位无人问津的情况,这时候你报冷门专业,录取的几率是非常大的,这也就是为什么说冷门专业和热门专业各有千秋的原因。
每个专业都有它存在的意义,在冷门专业做到足够优秀也是非常了不起的,也能做到衣食无忧,社会的需求一直在变化,冷门、热门专业都会变化,我们读大学的目的不仅仅是学到专业知识,更是学会学习各项专业知识。
选择冷门专业有哪些注意事项
1、要有足够的学习动力
不管你选择这专业是因为调剂、还是因为兴趣,都要对学习这学科有足够的动力。你不一定非要对这学科有浓厚的兴趣,但一定要有好感,而且这个好感可以促使你认真完成未来四年的学业。大学不同于高中,大学学习压力不大,空闲时间多,最重要的是没有老师和家长逼迫学习,所以学习主要靠自觉。
2、对未来有明确的规划
既然你选择了冷门专业,就要提前为毕业后的就业做好打算。因此,一个明确的未来规划就非常必要。首先,你要对所选专业有一个明确的认识,明确它的就业方向和发展潜力。需要哪些额外知识来学好这学科?要到哪个行业实习?要不要考研?需要考取哪些证件?这些虽然不需要马上明确起来,但要有一定的认识。
3、利用院校优势选专业
同样一个专业,无论冷门或热门,就读的高校将对你专业的学习以及将来的就业产生直接的影响。相对来讲,热门专业可能在任何一个学校都能得到较好的学习与就业资源,而冷门专业则可能选择相应的优势院校会更有优势。也就是说,你选择的这个专业,哪个学校在这方面更强,它就更值得你去考虑。
4、对专业有足够的了解
不管是挖掘学习动力,还是制定规划,都是在对所选专业有足够了解的大前提之下。如果你选了这专业后,发现实际和预期相差太大,就会有很大问题。虽然有些学校可以申请换专业,但都是在非常特殊的情况下才允许。因此,切忌先入为主、盲目选择。
志愿填报的基本模式是什么?
专业(类)+院校
采取一所院校一个招生专业(类)为一个志愿,实行平行志愿投档的统一录取模式。
模式特点:专业平行志愿是同一类别、同一段次中若干具有相对平行关系的专业(类)志愿,以一所院校的一个专业(类)为志愿单位,按照“分数优先、遵循志愿”进行投档。
填报须知:直接投档到某院校某专业(类),不存在专业服从调剂,不用担心被调剂到不喜欢的专业。考生既可选择不同高校的同一专业,也可选择同一高校的不同专业,还可以选择不同专业下的不同高校。
院校+专业组
由院校根据人才培养需要和不同专业(含专业或大类)的科目要求设置,是本科志愿填报的基本单位。
模式特点:一所院校可设置一个或多个院校专业组,每个院校专业组内可包含数量不等的专业,同一院校专业组内各专业的科目要求需相同。同一院校科目要求相同的专业可分设在不同的院校专业组中,但这些院校专业组的科目要求须相同。
填报须知:该模式以一个院校加一个专业组为一个志愿单位,将每一个志愿细化到专业组。考生根据自己的意愿,可选择某个学校的某个专业组作为志愿,专业调剂限于同一专业组内调剂。
平行志愿
指考生在填报高考志愿时,可在指定的批次同时填报若干个平行院校志愿。
模式特点:按考生成绩从高到低进行排序,分数高的学生先投档。某一个考生投档时,先看其成绩是否够A院校提档线;如不够,再看B院校;如此类推,直到检索到考生分数符合的志愿院校后,将其投档至该院校。
填报须知:检索考生填报的院校志愿时,是按逻辑顺序即A、B、C、D......院校依次进行的。当考生总分符合首先被检索的A院校投档条件时,且A校有计划余额,该生即被投到A院校。填报时,应在各志愿院校之间拉开适当梯度。
顺序志愿
在同一个录取批次设置的多个院校志愿有先后顺序,每个志愿只包括一所院校。
模式特点:把考生的高考志愿作为录取投档的第一要素,最大程度满足考生的志愿要求。投档时对选报同一志愿院校的考生按院校确定的录取原则、调档比例从高分到低分进行投档。
填报须知:选报同一志愿院校的考生,按院校确定的调档比例从高分到低分进行投档,第一志愿录取结束后再进行第二志愿投档录取。例如考生将A校放在第二志愿,如果A校一志愿已经招满且不预留招收二志愿的名额,那么无论该生分数多高,档案都不会投向A校。
2022吉林高考录取分数线【公布】相关文章:
